ГОСТ IEC/TS 61800-8-2017 Электрические приводные системы с регулируемой скоростью. Часть 8. Спецификация напряжения на силовом сопряжении
ГОСТ Р МЭК/ТС
Скачать ГОСТ в PDF или DOC бесплатно
Основная информация
Обозначение:
ГОСТ IEC/TS 61800-8-2017
Статус:
Действует
Тип:
ГОСТ Р МЭК/ТС
Название русское:
Электрические приводные системы с регулируемой скоростью. Часть 8. Спецификация напряжения на силовом сопряжении
Название английское:
Adjustable speed electrical power drive systems. Part 8. Specification of voltage on the power interface
Даты и сроки
Дата регистрации:
09-25-17
Дата издания:
12-21-18
Дата введения в действие:
06-01-19
Дата завершения срока действия:
-
Применение и описание
Область и условия применения:
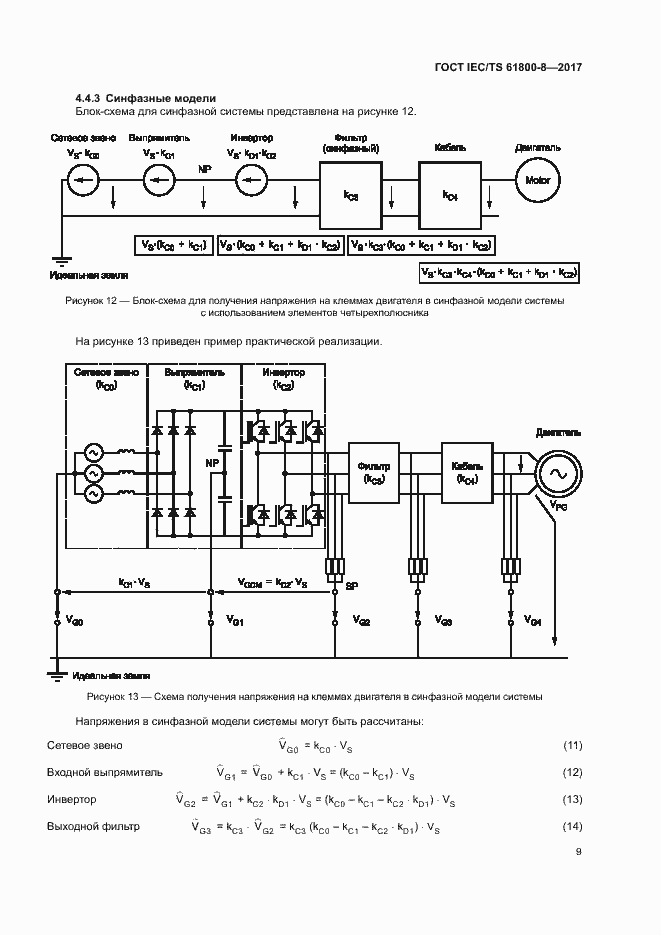
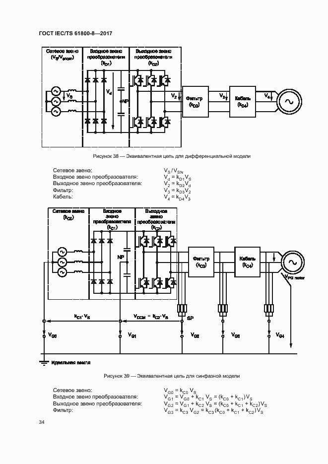
Настоящий стандарт дает рекомендации для определения напряжения на силовом сопряжении в системе электропривода. Данные рекомендации предназначены для определения напряжений между фазами и между фазами и землей на клеммах преобразователя и двигателя. В первой части настоящего стандарта рекомендации приведены для трехфазных преобразователей, имеющих следующие схемотехнические решения: - инвертор напряжения с однофазным неуправляемым выпрямителем; - инвертор напряжения с трехфазным неуправляемым выпрямителем; - инвертор напряжения с трехфазным управляемым выпрямителем. Все указанные типы инверторов работают по принципу широтно-импульсной модуляции, при котором отдельные импульсы выходного напряжения регулируются таким образом, чтобы сформировалось напряжение требуемой амплитуды и частоты. Другие топологии в настоящем стандарте не рассматриваются. Вопросы безопасности исключены из настоящего стандарта и изложены в IEC 61800-5. Вопросы электромагнитной совместимости рассматриваются в IEC 61800-3
Связи и замены
Заменяющий:
-
Описание стандарта
ГОСТ IEC/TS 61800-8-2017 Электрические приводные системы с регулируемой скоростью. Часть 8. Спецификация напряжения на силовом сопряжении
Страницы стандарта




















































