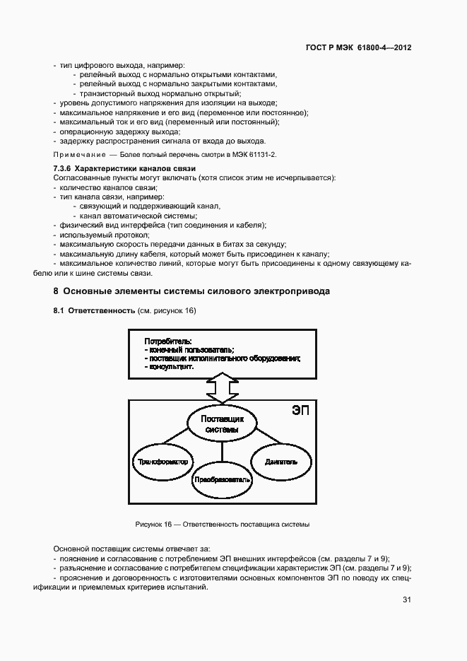
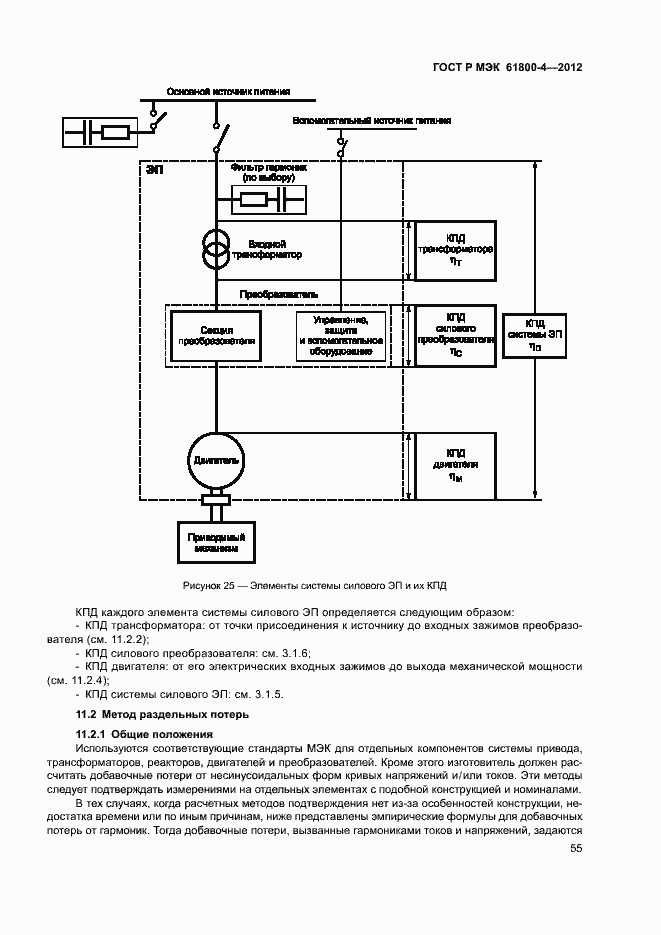
ГОСТ Р МЭК 61800-4-2012 Системы силовых электроприводов с регулируемой скоростью. Часть 4. Общие требования. Номинальные технические характеристики систем силовых приводов переменного тока свыше 1000 В и не более 35 кВ
ГОСТ Р МЭК
Скачать ГОСТ в PDF или DOC бесплатно
Основная информация
Обозначение:
ГОСТ Р МЭК 61800-4-2012
Статус:
Действует
Тип:
ГОСТ Р МЭК
Название русское:
Системы силовых электроприводов с регулируемой скоростью. Часть 4. Общие требования. Номинальные технические характеристики систем силовых приводов переменного тока свыше 1000 В и не более 35 кВ
Название английское:
Adjustable speed electrical power drive systems. Part 4. General requirements. Rating specifications for a.c power drive systems above 1000 V a.c. and exceeding 35 kV
Даты и сроки
Дата издания:
02-03-14
Дата введения в действие:
06-01-13
Дата завершения срока действия:
-
Применение и описание
Область и условия применения:
Настоящий стандарт распространяется на системы регулируемых электроприводов переменного тока, которые включают в себя силовой преобразователь, устройства управления и двигатель. Стандарт не распространяется на электрическую тягу железнодорожного применения и электрические приводы транспортных устройств. Стандарт распространяется на системы электропривода с линейным напряжением преобразователя от 1 до 35 кВ переменного тока, 50 или 60 Гц и с частотами преобразователя на стороне нагрузки до 600 Гц
Связи и замены
Заменяющий:
-
Описание стандарта
ГОСТ Р МЭК 61800-4-2012 Системы силовых электроприводов с регулируемой скоростью. Часть 4. Общие требования. Номинальные технические характеристики систем силовых приводов переменного тока свыше 1000 В и не более 35 кВ
Страницы стандарта

















































































