ГОСТ 28330-89 Машины электрические асинхронные мощностью от 1 до 400 кВт включительно. Двигатели. Общие технические требования
ГОСТ
Скачать ГОСТ в PDF или DOC бесплатно
Основная информация
Обозначение:
ГОСТ 28330-89
Статус:
Утратил силу в РФ
Тип:
ГОСТ
Название русское:
Машины электрические асинхронные мощностью от 1 до 400 кВт включительно. Двигатели. Общие технические требования
Название английское:
Asinchronous electrical machines with output up 1 to and including 400 kW. Motors. General specifications
Даты и сроки
Дата издания:
03-05-90
Дата введения в действие:
01-01-91
Дата завершения срока действия:
01-01-02
Применение и описание
Область и условия применения:
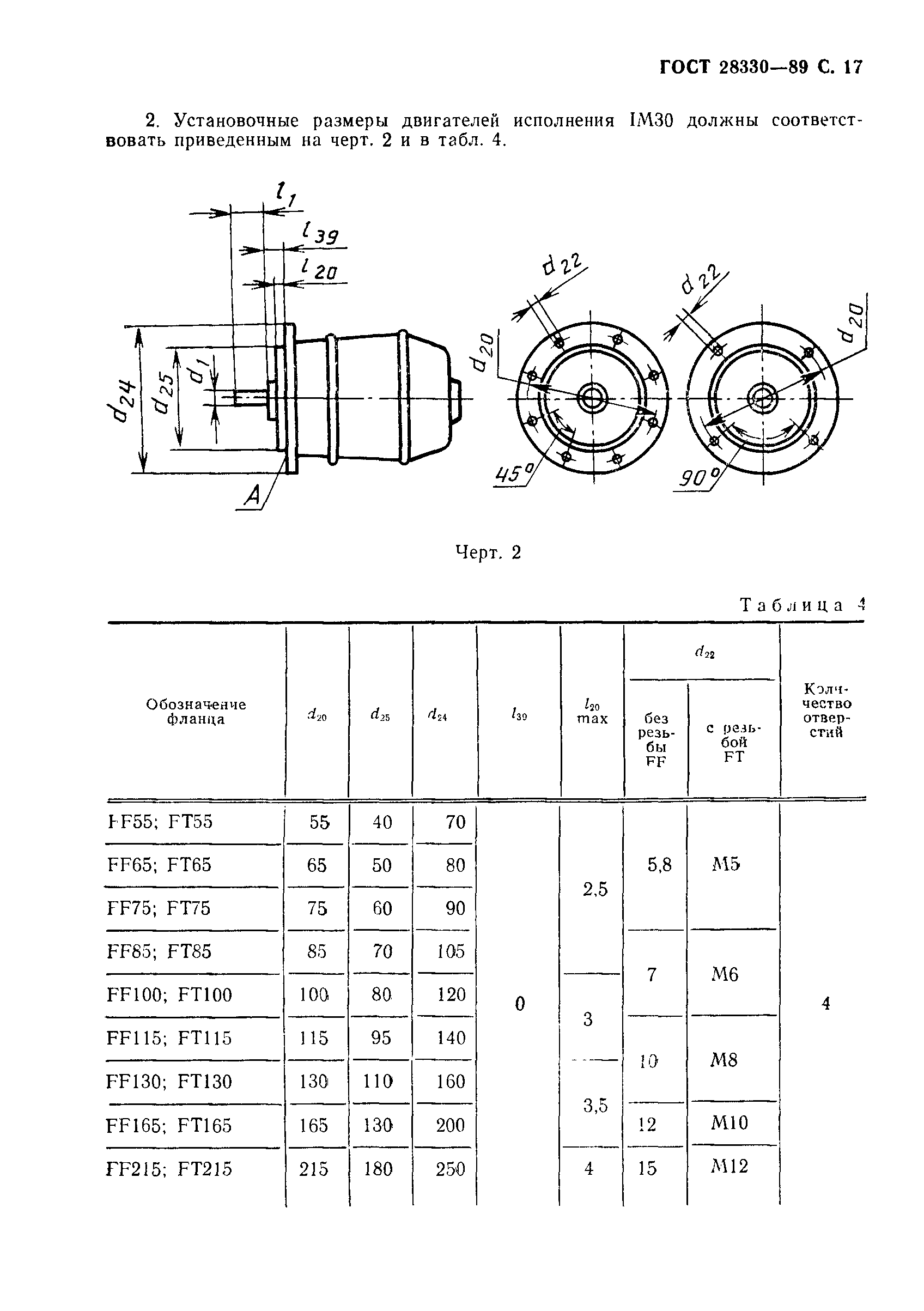
Настоящий стандарт распространяется на асинхронные двигатели общего назначения для работы от сети переменного тока напряжения до 660 В, изготовляемые для нужд народного хозяйства и экспорта. Стандарт не распространяется на двигатели, устанавливаемые на средствах наземного, морского и воздушного транспорта, взрывозащищенные двигатели. Виды климатических исполнений двигателей: У2; У3; У5; УХЛ2; УХЛ3; УХЛ4; Т2; Т3; ОМ2,5; О4, а также (для химостойких исполнений) У3,5 по ГОСТ 15150. По требованию заказчика двигатели могут изготовляться видов климатических исполнений У1, УХЛ1, Т1 по ГОСТ 15150
Связи и замены
Заменяющий:
-
Изменения и переиздания
Список изменений:
№0 от (рег. ) «Поправка к изменению»
Описание стандарта
ГОСТ 28330-89 Машины электрические асинхронные мощностью от 1 до 400 кВт включительно. Двигатели. Общие технические требования
Страницы стандарта


























