ГОСТ IEC 61800-2-2018 Системы силовых электроприводов с регулируемой скоростью. Часть 2. Общие требования. Номинальные технические характеристики низковольтных систем силовых электроприводов переменного тока с регулируемой скоростью
ГОСТ МЭК
Скачать ГОСТ в PDF или DOC бесплатно
Основная информация
Обозначение:
ГОСТ IEC 61800-2-2018
Статус:
Действует
Тип:
ГОСТ МЭК
Название русское:
Системы силовых электроприводов с регулируемой скоростью. Часть 2. Общие требования. Номинальные технические характеристики низковольтных систем силовых электроприводов переменного тока с регулируемой скоростью
Название английское:
Adjustable speed electrical power drive systems. Part 2. General requirements. Rating specifications for low voltage adjustable speed a.c. power drive systems
Даты и сроки
Дата регистрации:
11-29-18
Дата издания:
07-25-19
Дата введения в действие:
01-01-20
Дата завершения срока действия:
-
Применение и описание
Область и условия применения:
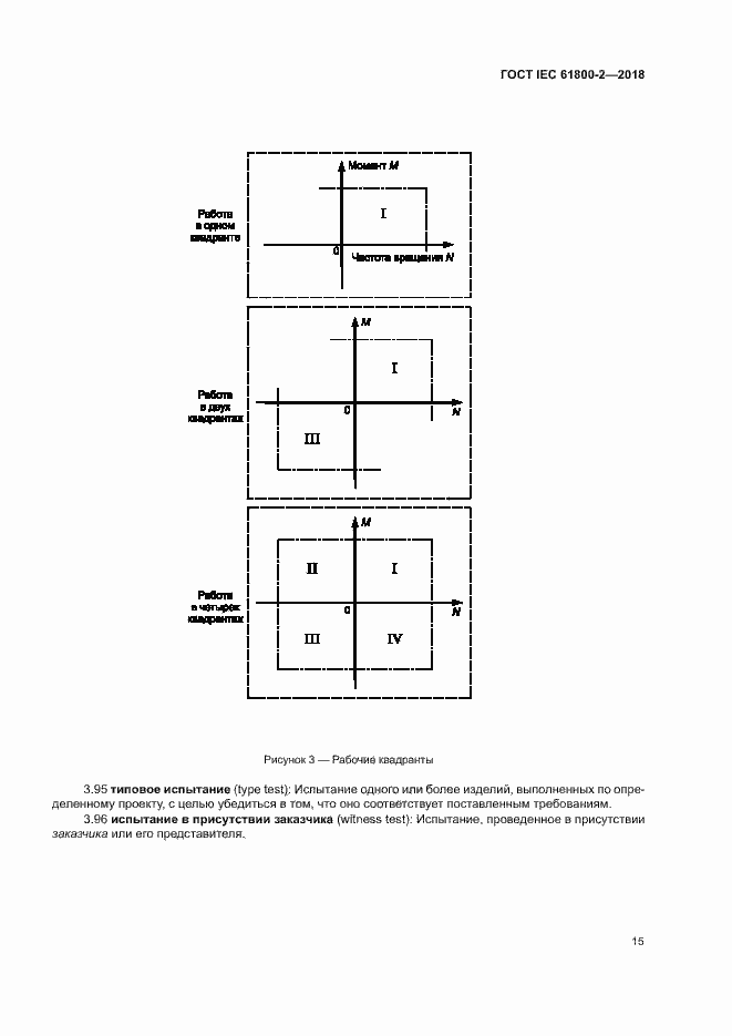
Настоящий стандарт распространяется на системы регулируемых электроприводов переменного тока, включающие в себя полупроводниковый силовой преобразователь, устройства управления, защиты, мониторинга, измерений и двигатель переменного тока. Настоящий стандарт применяется для электроприводов с регулированием скорости, в которых предусмотрено соединение двигателя переменного тока с преобразователем, питающимся от линейного напряжения переменного тока частотой 50 или 60 Гц не более 1 кВ включительно и/или постоянного тока напряжением не более 1,5 кВ включительно
Связи и замены
Заменяющий:
-
Описание стандарта
ГОСТ IEC 61800-2-2018 Системы силовых электроприводов с регулируемой скоростью. Часть 2. Общие требования. Номинальные технические характеристики низковольтных систем силовых электроприводов переменного тока с регулируемой скоростью
Страницы стандарта











































































