ГОСТ 3484.2-88 Трансформаторы силовые. Испытания на нагрев
ГОСТ
Скачать ГОСТ в PDF или DOC бесплатно
Основная информация
Обозначение:
ГОСТ 3484.2-88
Статус:
Действует
Тип:
ГОСТ
Название русское:
Трансформаторы силовые. Испытания на нагрев
Название английское:
Power transformers. Heating tests
Даты и сроки
Дата издания:
03-24-89
Дата введения в действие:
01-01-90
Дата завершения срока действия:
-
Применение и описание
Область и условия применения:
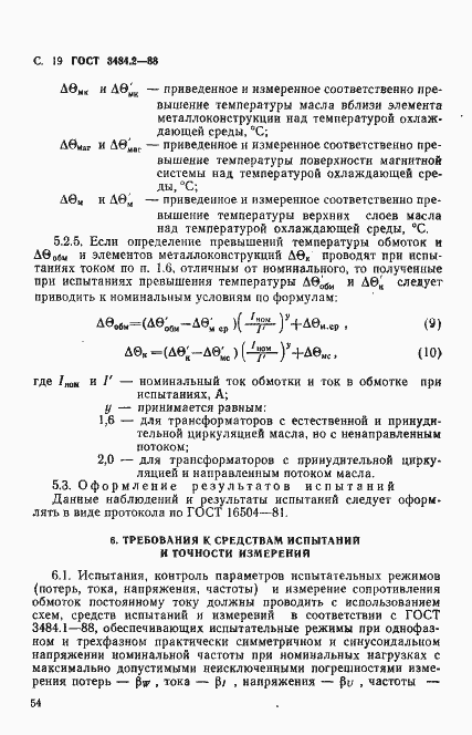
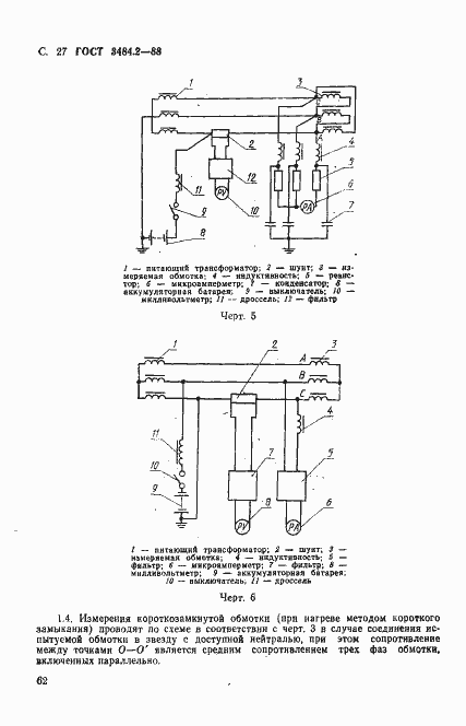
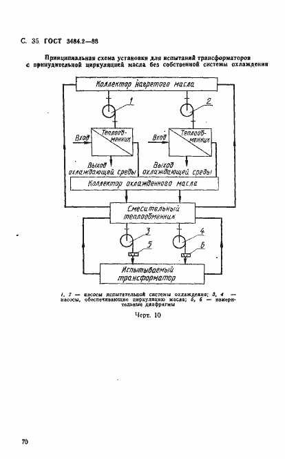
Настоящий стандарт распространяется на силовые трансформаторы общего назначения и устанавливает объем, условия и методы испытания на нагрев, а также требования к измерению температур элементов транчформаторов и окружающей среды
Связи и замены
Заменяющий:
-
Взамен в части:
ГОСТ 3484-77 в части испытаний на нагрев
Изменения и переиздания
Список изменений:
№1 от (рег. ) «Срок действия продлен»
Описание стандарта
ГОСТ 3484.2-88 Трансформаторы силовые. Испытания на нагрев
Страницы стандарта






































