ГОСТ Р 51559-2000 Трансформаторы силовые масляные классов напряжения 110 и 220 кВ и автотрансформаторы напряжением 27,5 кВ для электрических железных дорог переменного тока. Общие технические условия
ГОСТ Р
Скачать ГОСТ в PDF или DOC бесплатно
Основная информация
Обозначение:
ГОСТ Р 51559-2000
Статус:
Заменен
Тип:
ГОСТ Р
Название русское:
Трансформаторы силовые масляные классов напряжения 110 и 220 кВ и автотрансформаторы напряжением 27,5 кВ для электрических железных дорог переменного тока. Общие технические условия
Название английское:
Ggeneral-purpose oil-immersed power transformers of 110 and 220 kV and autotransformers 27,5 kV for electric a. c. railway. General specifications
Даты и сроки
Дата издания:
04-24-00
Дата введения в действие:
01-01-01
Дата завершения срока действия:
01-01-23
Применение и описание
Область и условия применения:
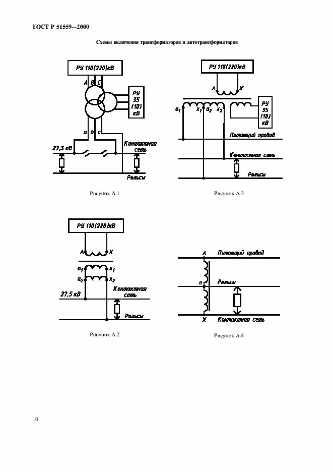
Настоящий стандарт распространяется на силовые стационарные, масляные трансформаторы классов напряжения 110 и 220 кВ и автотрансформаторы напряжением 27,5 кВ, предназначенные для питания тяговых сетей электрических железных дорог переменного тока, электрофицированных по системам тягового электроснабжения 25 и 2х25 кВ
Связи и замены
Заменяющий:
ГОСТ Р 51559-2022
Описание стандарта
ГОСТ Р 51559-2000 Трансформаторы силовые масляные классов напряжения 110 и 220 кВ и автотрансформаторы напряжением 27,5 кВ для электрических железных дорог переменного тока. Общие технические условия
Страницы стандарта


















