ГОСТ Р МЭК 95-2-93 Свинцово-кислотные стартерные батареи. Часть 2. Размеры батарей. Размеры и маркировка выводов
ГОСТ Р МЭК
Скачать ГОСТ в PDF или DOC бесплатно
Основная информация
Обозначение:
ГОСТ Р МЭК 95-2-93
Статус:
Заменен
Тип:
ГОСТ Р МЭК
Название русское:
Свинцово-кислотные стартерные батареи. Часть 2. Размеры батарей. Размеры и маркировка выводов
Название английское:
Lead-acid starter batteries. Part 2. Dimensions of battaries. Dimensions and marking of terminals
Даты и сроки
Дата издания:
06-01-99
Дата введения в действие:
01-01-95
Дата завершения срока действия:
07-01-11
Применение и описание
Область и условия применения:
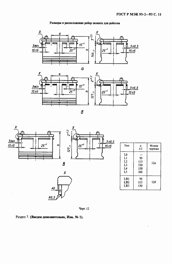
Настоящий стандарт распространяется на свинцово-кислотные стартерные батареи, предназначенные для запуска двигателя внутреннего сгорания, закрепляемые на автомобиле при помощи выступов, расположенных на длинных стенках корпуса батареи (стандартное крепление)
Связи и замены
Заменяющий:
ГОСТ Р МЭК 60095-2-2010
Изменения и переиздания
Список изменений:
№1 от (рег. ) «Срок действия продлен»
Описание стандарта
ГОСТ Р МЭК 95-2-93 Свинцово-кислотные стартерные батареи. Часть 2. Размеры батарей. Размеры и маркировка выводов
Страницы стандарта













