ГОСТ 14695-80 Подстанции трансформаторные комплектные мощностью от 25 до 2500 кВ·А на напряжение до 10 кВ. Общие технические условия
ГОСТ
Скачать ГОСТ в PDF или DOC бесплатно
Основная информация
Обозначение:
ГОСТ 14695-80
Статус:
Действует
Тип:
ГОСТ
Название русское:
Подстанции трансформаторные комплектные мощностью от 25 до 2500 кВ·А на напряжение до 10 кВ. Общие технические условия
Название английское:
Enclosed transformer substations of output from 25 to 2500 kV·A, for voltages up to 10 kV inclusive. General specifications
Даты и сроки
Дата издания:
12-01-85
Дата введения в действие:
01-01-83
Дата завершения срока действия:
-
Применение и описание
Область и условия применения:
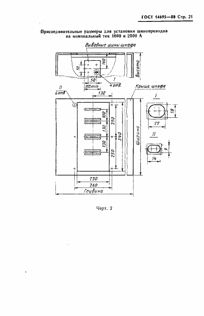
Настоящий стандарт распространяется на комплектные трансформаторные подстанции (КТП) трехфазного переменного тока частоты 50 и 60 Гц на напряжение до 10 кВ общего назначения, предназначенные для приема, преобразования и распределения электроэнергии, видов климатических исполнений У1, У3, ХЛ1.Стандарт не распространяется на КТП: работающие в среде, содержащей едкие пары и газы, работающие в среде, разрушающие металлы и изоляцию; специальные КТП, предназначенные для подвижных установок и для питания отдельных электроприводов целевого назначения; взрывозащищенные и рудничные КТП
Связи и замены
Заменяющий:
-
Взамен:
ГОСТ 14695-73;ГОСТ 18279-72
Изменения и переиздания
Список изменений:
№1 от (рег. ) «Срок действия продлен» №2 от (рег. ) «Срок действия продлен» №3 от (рег. ) «Срок действия продлен» №4 от (рег. ) «Срок действия продлен» №5 от (рег. ) «Срок действия продлен»
Описание стандарта
ГОСТ 14695-80 Подстанции трансформаторные комплектные мощностью от 25 до 2500 кВ·А на напряжение до 10 кВ. Общие технические условия
Страницы стандарта






























