ГОСТ IEC 61643-21-2014 Устройства защиты от перенапряжений низковольтные. Часть 21. Устройства защиты от перенапряжений, подсоединенные к телекоммуникационным и сигнализационным сетям. Требования к эксплуатационным характеристикам и методы испытаний
ГОСТ МЭК
Скачать ГОСТ в PDF или DOC бесплатно
Основная информация
Обозначение:
ГОСТ IEC 61643-21-2014
Статус:
Действует
Тип:
ГОСТ МЭК
Название русское:
Устройства защиты от перенапряжений низковольтные. Часть 21. Устройства защиты от перенапряжений, подсоединенные к телекоммуникационным и сигнализационным сетям. Требования к эксплуатационным характеристикам и методы испытаний
Название английское:
Low voltage surge protective devices. Part 21. Surge protective devices connected to telecommunications and signalling networks. Performance requirements and testing methods
Даты и сроки
Дата регистрации:
09-30-14
Дата издания:
01-19-15
Дата введения в действие:
10-01-15
Применение и описание
Область и условия применения:
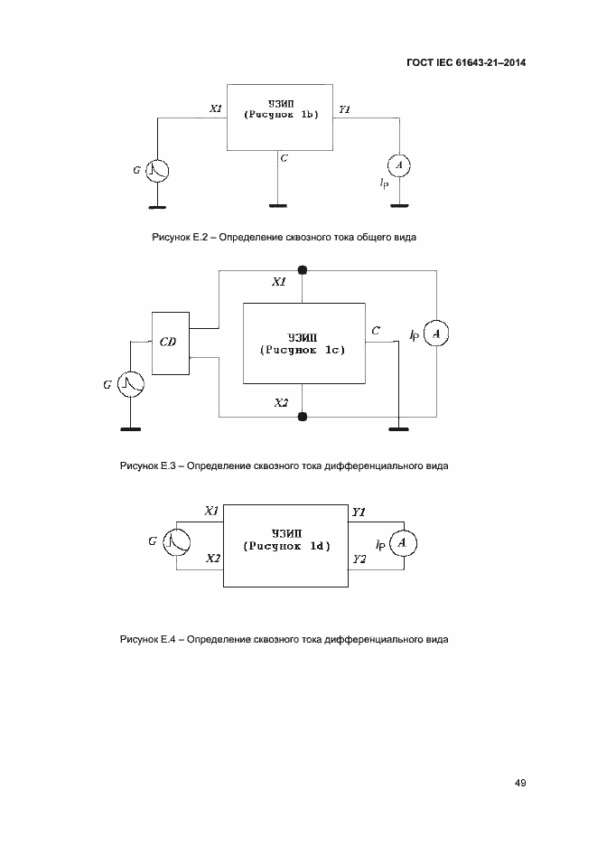
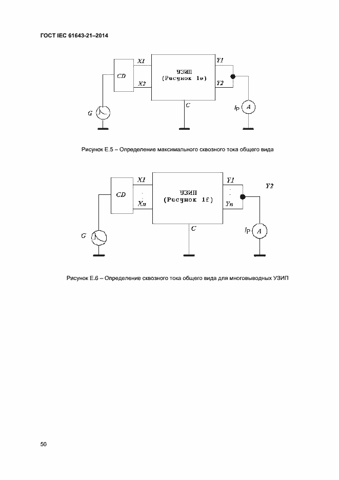
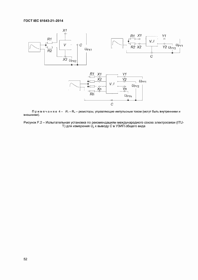
Настоящий стандарт распространяется на устройства для защиты сетей телекоммуникации и сигнализации при прямом или косвенном воздействии грозовых или других переходных перенапряжений. Назначением данных УЗИП является защита современного электронного оборудования в сетях телекоммуникации и сигнализации с номинальными напряжениями системы до 1000 В переменного тока и 1500 В постоянного тока
Описание стандарта
ГОСТ IEC 61643-21-2014 Устройства защиты от перенапряжений низковольтные. Часть 21. Устройства защиты от перенапряжений, подсоединенные к телекоммуникационным и сигнализационным сетям. Требования к эксплуатационным характеристикам и методы испытаний
Страницы стандарта



























































