ГОСТ Р 50345-99 Аппаратура малогабаритная электрическая. Автоматические выключатели для защиты от сверхтоков бытового и аналогичного назначения
ГОСТ Р
Скачать ГОСТ в PDF или DOC бесплатно
Основная информация
Обозначение:
ГОСТ Р 50345-99
Статус:
Заменен
Тип:
ГОСТ Р
Название русское:
Аппаратура малогабаритная электрическая. Автоматические выключатели для защиты от сверхтоков бытового и аналогичного назначения
Название английское:
Electrical accessories. Circuit-breakers for overcurrent protection for household and similar installations
Даты и сроки
Дата издания:
11-01-02
Дата введения в действие:
01-01-01
Дата завершения срока действия:
01-01-12
Применение и описание
Область и условия применения:
Настоящий стандарт распространяется на воздушные автоматические выключатели переменного тока для работы при частоте 50 или 60 Гц с номинальным напряжением (между фазами ) не более 440 В, номинальным током не более 125 А и номинальной отключающей способностью более 25000 А. Выключатели предназначены для защиты от сверхтоков систем в зданиях и аналогичных установок; они рассчитаны на использование специально необученными для этого людьми и не нуждаются в обслуживании
Связи и замены
Заменяющий:
ГОСТ Р 50345-2010
Взамен:
ГОСТ Р 50345-92
Описание стандарта
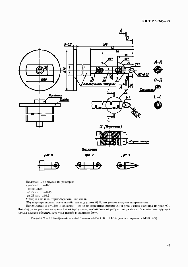
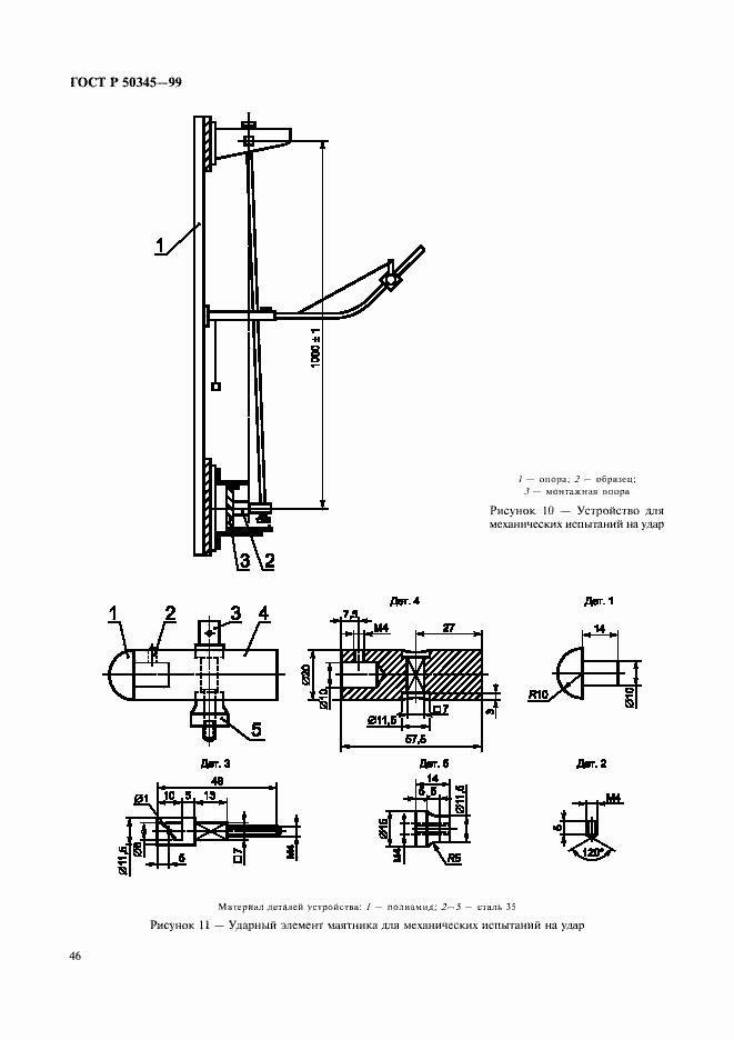
ГОСТ Р 50345-99 Аппаратура малогабаритная электрическая. Автоматические выключатели для защиты от сверхтоков бытового и аналогичного назначения
Страницы стандарта





































































