ГОСТ 30852.5-2002 Электрооборудование взрывозащищенное. Часть 4. Метод определения температуры самовоспламенения
ГОСТ
Скачать ГОСТ в PDF или DOC бесплатно
Основная информация
Обозначение:
ГОСТ 30852.5-2002
Статус:
Заменен
Тип:
ГОСТ
Название русское:
Электрооборудование взрывозащищенное. Часть 4. Метод определения температуры самовоспламенения
Название английское:
Explosionprotected electrical apparatus. Part 4. Method of test for ignition temperature
Даты и сроки
Дата регистрации:
11-06-02
Дата издания:
02-19-14
Дата введения в действие:
02-15-14
Дата завершения срока действия:
10-01-21
Применение и описание
Область и условия применения:
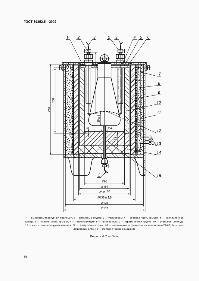
Настоящий стандарт устанавливает метод определения температуры самовоспламенения химически чистого газа или пара в воздухе при атмосферном давлении. Требования настоящего стандарта являются обязательными
Связи и замены
Заменяющий:
ГОСТ 31610.20-1-2020
Описание стандарта
ГОСТ 30852.5-2002 Электрооборудование взрывозащищенное. Часть 4. Метод определения температуры самовоспламенения
Страницы стандарта






















