ГОСТ 31613-2012 Электростатическая искробезопасность. Общие технические требования и методы испытаний
ГОСТ
Скачать ГОСТ в PDF или DOC бесплатно
Основная информация
Обозначение:
ГОСТ 31613-2012
Статус:
Действует
Тип:
ГОСТ
Название русское:
Электростатическая искробезопасность. Общие технические требования и методы испытаний
Название английское:
Static electricity spark safety. General technical requirements and test methods
Даты и сроки
Дата регистрации:
05-24-12
Дата издания:
04-22-13
Дата введения в действие:
02-15-13
Дата завершения срока действия:
-
Применение и описание
Область и условия применения:
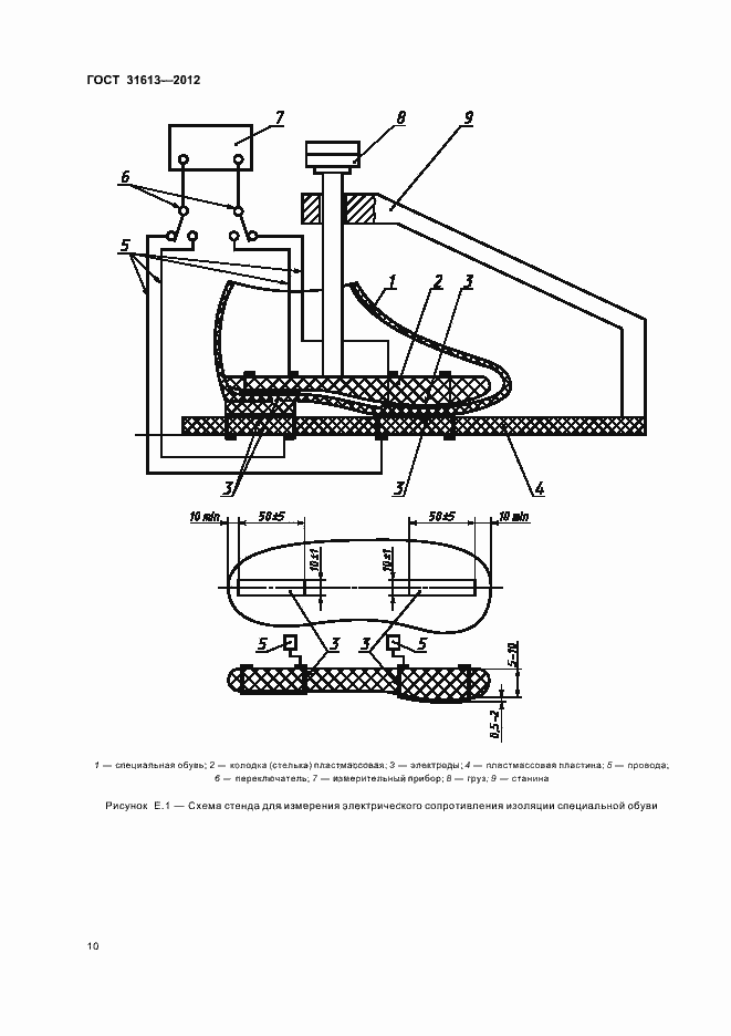
Настоящий стандарт в соответствии с положениями ГОСТ 12.1.004, ГОСТ 12.1.010 и ГОСТ 12.1.018 регламентирует общие технические требования и методы испытаний оболочек и других частей электрооборудования, специальной одежды и обуви, конвейерных лент и вентиляционных труб, полностью или частично изготовленных из неметаллических материалов и электризующихся в процессе их применения во взрывоопасных зонах. Стандарт не распространяется на кабели и провода, указатели напряжения, изолирующие штанги и клещи, диэлектрические боты и коврики, которые по требованиям электробезопасности должны иметь высокое электрическое сопротивление, а для обеспечения их электростатической искробезопасности должны быть предусмотрены организационные меры, указанные в «Правилах применения и испытания средств защиты, используемых в электроустановках, и технических требованиях к ним» и в «Инструкции по эксплуатации». Стандарт не распространяется на оборудование электронно-ионных технологий, производств взрывчатых веществ и объектов, опасность которых обусловлена свойствами взрывчатых веществ
Связи и замены
Заменяющий:
-
Описание стандарта
ГОСТ 31613-2012 Электростатическая искробезопасность. Общие технические требования и методы испытаний
Страницы стандарта



















