ГОСТ 31442-2011 Оборудование группы 1, уровень взрывозащиты Ма, для применения в среде, опасной по воспламенению рудничного газа и/или угольной пыли
ГОСТ
Скачать ГОСТ в PDF или DOC бесплатно
Основная информация
Обозначение:
ГОСТ 31442-2011
Статус:
Действует
Тип:
ГОСТ
Название русское:
Оборудование группы 1, уровень взрывозащиты Ма, для применения в среде, опасной по воспламенению рудничного газа и/или угольной пыли
Название английское:
Group I, equipment protection level Ma intended to remain functional in atmosphere endangered by firedamp and/or coal dust
Даты и сроки
Дата регистрации:
11-29-11
Дата издания:
12-05-13
Дата введения в действие:
02-15-13
Дата завершения срока действия:
-
Применение и описание
Область и условия применения:
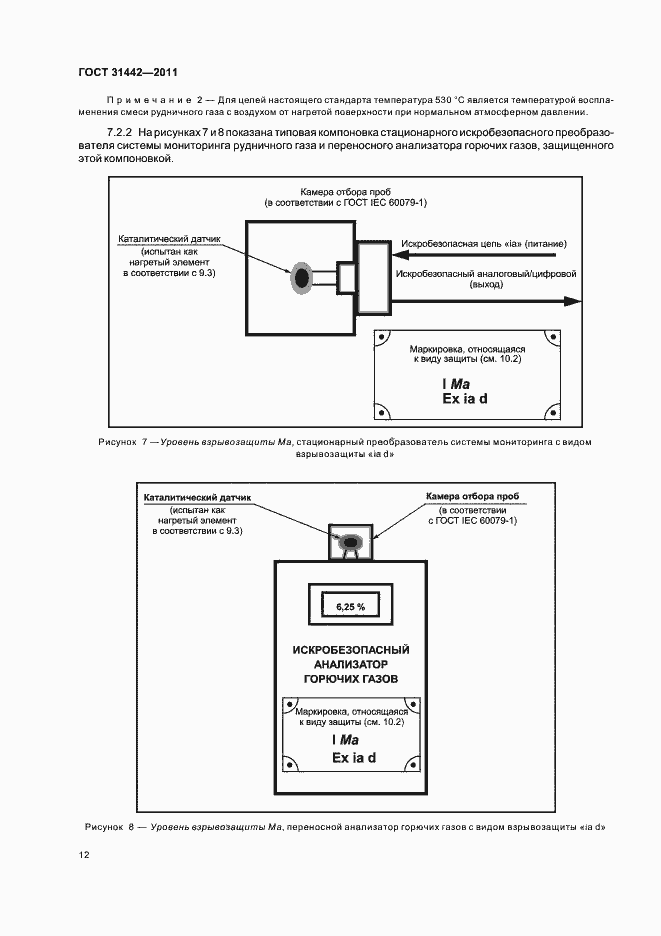
Настоящий стандарт устанавливает требования к конструкции, испытаниям и маркировке оборудования группы I, уровень взрывозащиты Ма, предназначенного для применения в подземных выработках и наземных сооружениях шахт, опасных по воспламенению рудничного газа и/или угольной пыли при нормальных атмосферных условиях (давление от 0,8 до 1,1 бар; температура от минус 20 °С до плюс 60 °С). Настоящий стандарт применим ко всему электрическому и неэлектрическому оборудованию, способному инициировать взрыв через его собственные потенциальные источники воспламенения. Настоящий стандарт также применим к кабелям, в том числе и оптоволоконным, в случае, если они используются для подвода питающего напряжения и являются частью оборудования, предназначенного для эксплуатации в среде, опасной по воспламенению рудничного газа и/или угольной пыли. Настоящий стандарт не применяется к шахтным головным светильникам уровня взрывозащиты Ма
Связи и замены
Заменяющий:
-
Описание стандарта
ГОСТ 31442-2011 Оборудование группы 1, уровень взрывозащиты Ма, для применения в среде, опасной по воспламенению рудничного газа и/или угольной пыли
Страницы стандарта





















Приложение №1: Поправка к ГОСТ 31442-2011 Обозначение: Поправка к ГОСТ 31442-2011 Дата введения в действие: 19.06.2019
