ГОСТ 18604.3-80 Транзисторы биполярные. Методы измерения емкостей коллекторного и эмиттерного переходов
ГОСТ
Скачать ГОСТ в PDF или DOC бесплатно
Основная информация
Обозначение:
ГОСТ 18604.3-80
Статус:
Действует
Тип:
ГОСТ
Название русское:
Транзисторы биполярные. Методы измерения емкостей коллекторного и эмиттерного переходов
Название английское:
Transistors bipolar. Methods for measuring collector and emitter capacitances
Даты и сроки
Дата издания:
12-01-85
Дата введения в действие:
01-01-82
Дата завершения срока действия:
-
Применение и описание
Область и условия применения:
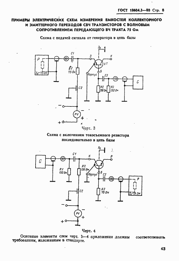
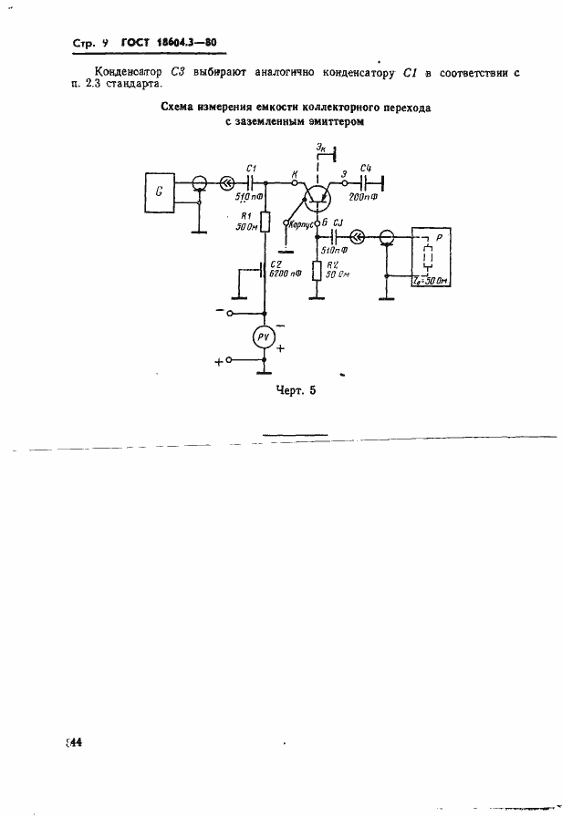
Настоящий стандарт распространяется на биполярные транзисторы и устанавливает два метода измерения емкостей коллекторного и эмиттерного переходов: с использованием резистивно-емкостного делителя; с использованием моста. Метод с использованием резистивно-емкостного делителя применяют в производственных измерениях, требующих высокой производительности. Метод с использованием моста применяют в лабораторных и производственных измерениях, требующих высокой точности
Связи и замены
Заменяющий:
-
Взамен:
ГОСТ 18604.3-73
Изменения и переиздания
Список изменений:
№1 от (рег. ) «Срок действия продлен» №2 от (рег. ) «Поправка»
Описание стандарта
ГОСТ 18604.3-80 Транзисторы биполярные. Методы измерения емкостей коллекторного и эмиттерного переходов
Страницы стандарта












