ГОСТ 20398.10-80 Транзисторы полевые. Метод измерения тока стока в импульсном режиме
ГОСТ
Скачать ГОСТ в PDF или DOC бесплатно
Основная информация
Обозначение:
ГОСТ 20398.10-80
Статус:
Действует
Тип:
ГОСТ
Название русское:
Транзисторы полевые. Метод измерения тока стока в импульсном режиме
Название английское:
Field-effect transistors. Drain current for Vgs=0 impulse measurement technique
Даты и сроки
Дата издания:
03-01-84
Дата введения в действие:
01-01-82
Дата завершения срока действия:
-
Применение и описание
Область и условия применения:
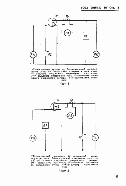
Настоящий стандарт распространяется на полевые транзисторы средней и большой мощности и на СВЧ полевые транзисторы малой мощности с начальным током стока более 15 мА и устанавливает метод измерения тока стока, начального тока стока и остаточного тока стока, превышающего 100 мА в импульсном режиме
Связи и замены
Заменяющий:
-
Описание стандарта
ГОСТ 20398.10-80 Транзисторы полевые. Метод измерения тока стока в импульсном режиме
Страницы стандарта


