ГОСТ 20398.13-80 Транзисторы полевые. Метод измерения сопротивления сток-исток
ГОСТ
Скачать ГОСТ в PDF или DOC бесплатно
Основная информация
Обозначение:
ГОСТ 20398.13-80
Статус:
Действует
Тип:
ГОСТ
Название русское:
Транзисторы полевые. Метод измерения сопротивления сток-исток
Название английское:
Field-effect transistors. Drain source resistance measurement technique
Даты и сроки
Дата издания:
03-01-84
Дата введения в действие:
01-01-82
Дата завершения срока действия:
-
Применение и описание
Область и условия применения:
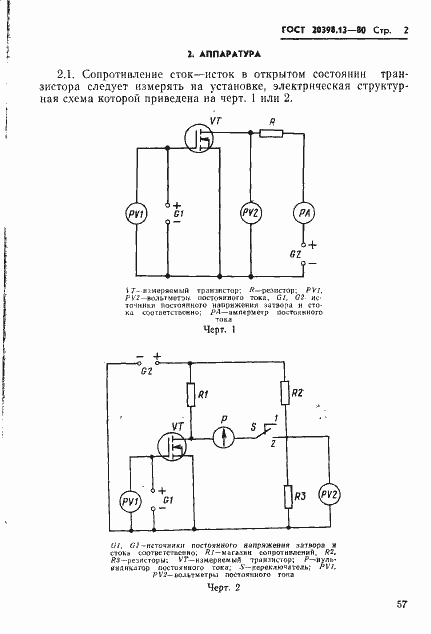
Настоящий стандарт распространяется на полевые транзисторы и устанавливает метод измерения сопротивления сток-исток в открытом состоянии транзистора
Связи и замены
Заменяющий:
-
Изменения и переиздания
Список изменений:
№1 от (рег. ) «Срок действия продлен»
Описание стандарта
ГОСТ 20398.13-80 Транзисторы полевые. Метод измерения сопротивления сток-исток
Страницы стандарта




