ГОСТ 19438.14-75 Лампы электронные маломощные. Методы измерения выходной мощности и создаваемых лампой нелинейных искажений при испытании ламп в режимах низкочастотного усиления
ГОСТ
Скачать ГОСТ в PDF или DOC бесплатно
Основная информация
Обозначение:
ГОСТ 19438.14-75
Статус:
Действует
Тип:
ГОСТ
Название русское:
Лампы электронные маломощные. Методы измерения выходной мощности и создаваемых лампой нелинейных искажений при испытании ламп в режимах низкочастотного усиления
Название английское:
Method of measurement of output power and non-linear distertiens of electronic tubes and valves under test in the conditions of low-frequeneq amplification
Даты и сроки
Дата издания:
12-16-75
Дата введения в действие:
01-01-77
Дата завершения срока действия:
-
Применение и описание
Область и условия применения:
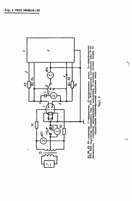
Настоящий стандарт распространяется на электронные приемно-усилительные и генераторные лампы мощностью, рассеиваемой анодом, до 25 Вт. Измерения выходной мощности и коэффициента нелинейных искажений (коэффициента гармоник) в режимах однотактного (класс А) и двухтактного (класс АВ или В) усиления в диапазоне частот от 50 до 20000 Гц производят следующими методами: с сопротивлением цепи анода в однотактной схеме; с анодным дросселем в однотактной схеме; с сопротивлением цепи анода в двухтактной схеме; с анодным дросселем в двухтактной схеме
Связи и замены
Заменяющий:
-
Взамен:
ГОСТ 8099-63
Изменения и переиздания
Список изменений:
№0 от (рег. ) «Восстановлен на территории СНГ» №0 от (рег. ) «Срок действия продлен» №0 от (рег. ) «Текстовое изменение; Изменено заглавие» №1 от (рег. ) «Срок действия продлен»
Описание стандарта
ГОСТ 19438.14-75 Лампы электронные маломощные. Методы измерения выходной мощности и создаваемых лампой нелинейных искажений при испытании ламп в режимах низкочастотного усиления
Страницы стандарта













