ГОСТ 21106.2-75 Лампы генераторные мощностью, рассеиваемой анодом, свыше 25 Вт. Метод измерения относительного уровня комбинационных составляющих
ГОСТ
Скачать ГОСТ в PDF или DOC бесплатно
Основная информация
Обозначение:
ГОСТ 21106.2-75
Статус:
Действует
Тип:
ГОСТ
Название русское:
Лампы генераторные мощностью, рассеиваемой анодом, свыше 25 Вт. Метод измерения относительного уровня комбинационных составляющих
Название английское:
Oscillator tubes anode dissipated more than 25 W. Test method for relative level of combinative products
Даты и сроки
Дата издания:
12-10-75
Дата введения в действие:
01-01-77
Дата завершения срока действия:
-
Применение и описание
Область и условия применения:
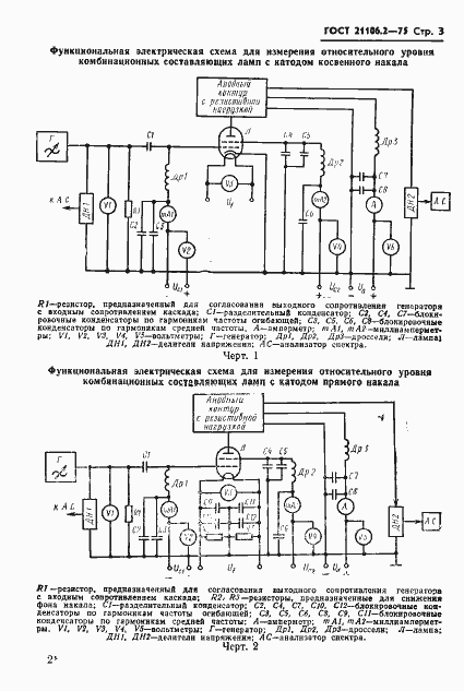
Настоящий стандарт распространяется на генераторные лампы мощностью, рассеиваемой анодом, свыше 25 Вт, предназначенные для усиления мощности на частотах до 300 МГц, и устанавливает метод измерения относительного уровня комбинационных составляющих
Связи и замены
Заменяющий:
-
Изменения и переиздания
Список изменений:
№0 от (рег. ) «Восстановлен на территории СНГ» №0 от (рег. ) «Текстовое изменение; Изменено заглавие» №0 от (рег. ) «Срок действия продлен»
Описание стандарта
ГОСТ 21106.2-75 Лампы генераторные мощностью, рассеиваемой анодом, свыше 25 Вт. Метод измерения относительного уровня комбинационных составляющих
Страницы стандарта




















