ГОСТ Р МЭК 62679-3-2-2017 Дисплеи на основе электронной бумаги. Часть 3-2. Методы измерений. Электрооптические
ГОСТ Р МЭК
Скачать ГОСТ в PDF или DOC бесплатно
Основная информация
Обозначение:
ГОСТ Р МЭК 62679-3-2-2017
Статус:
Действует
Тип:
ГОСТ Р МЭК
Название русское:
Дисплеи на основе электронной бумаги. Часть 3-2. Методы измерений. Электрооптические
Название английское:
Electronic paper displays. Part 3-2. Measuring methods. Electro-optical
Даты и сроки
Дата издания:
11-23-17
Дата введения в действие:
09-01-18
Дата завершения срока действия:
-
Применение и описание
Область и условия применения:
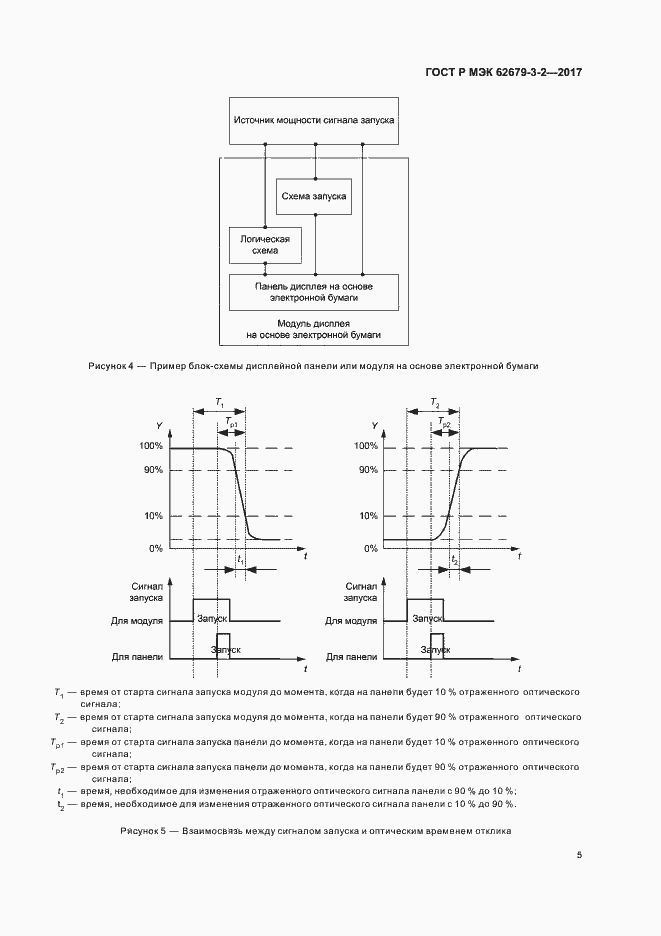
Настоящий стандарт распространяется на модули сегментных пассивных или активных матричных, монохромных или цветных дисплеев на основе электронной бумаги. Настоящий стандарт устанавливает технические требования к таким устройствам соответствующие общепринятым характеристикам дисплеев в целях обеспечения практичного и единообразного описания их характеристик. Настоящий стандарт разработан в целях определения и составления перечня параметров, зависящих от процедуры, и установление конкретных методов испытаний и условий, которые необходимо использовать для единообразного определения параметров в цифровом виде
Связи и замены
Заменяющий:
-
Описание стандарта
ГОСТ Р МЭК 62679-3-2-2017 Дисплеи на основе электронной бумаги. Часть 3-2. Методы измерений. Электрооптические
Страницы стандарта






















