ГОСТ 17467-88 Микросхемы интегральные. Основные размеры
ГОСТ
Скачать ГОСТ в PDF или DOC бесплатно
Основная информация
Обозначение:
ГОСТ 17467-88
Статус:
Утратил силу в РФ
Тип:
ГОСТ
Название русское:
Микросхемы интегральные. Основные размеры
Название английское:
Integrated microcircuits. Basic dimentions
Даты и сроки
Дата издания:
05-29-89
Дата введения в действие:
01-01-90
Дата завершения срока действия:
09-01-13
Применение и описание
Область и условия применения:
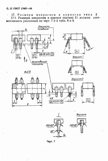
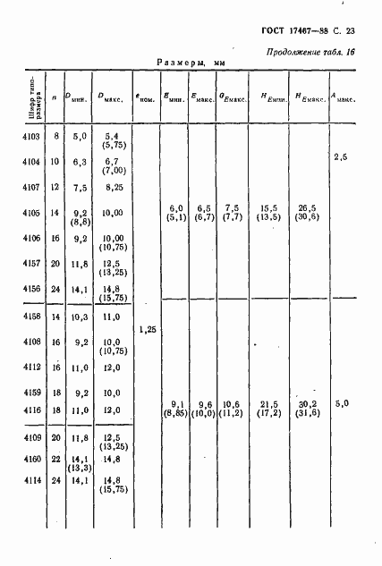
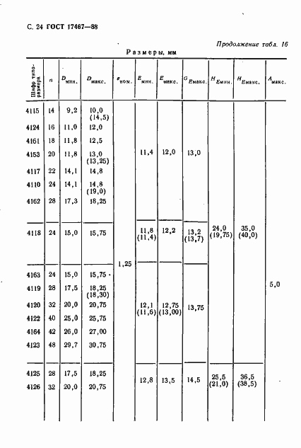
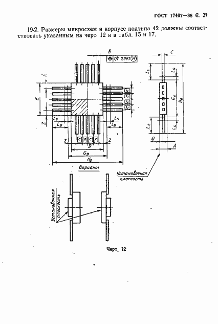
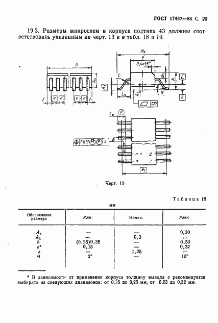
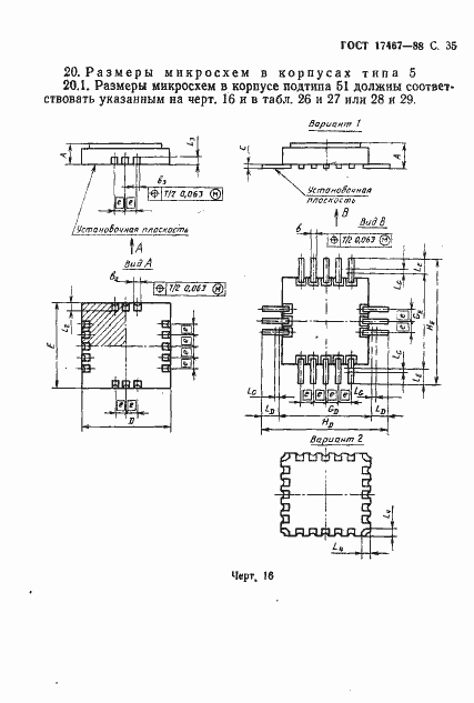
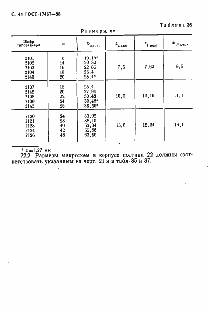
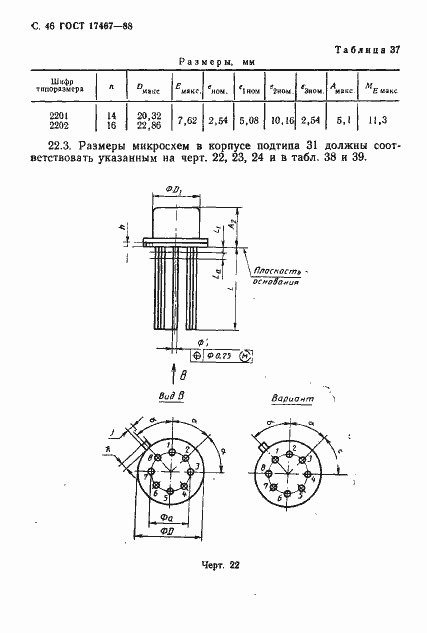
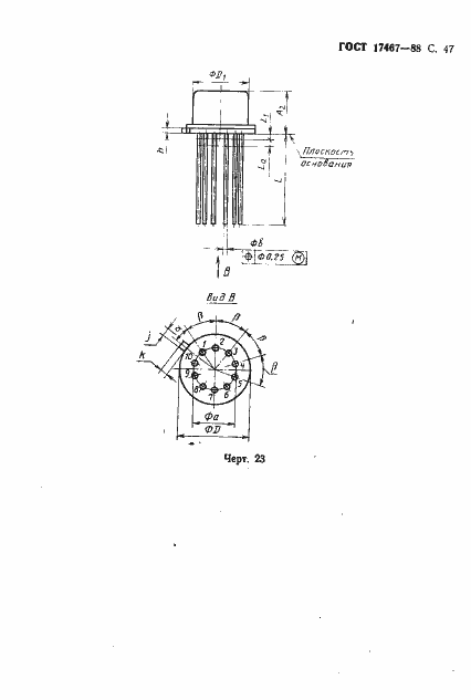
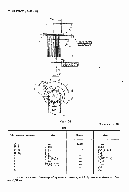
Настоящий стандарт распространяется на интегральные микросхемы в корпусах и устанавливает их габаритные и присоединительные размеры. Стандарт не распространяется на микросхемы СВЧ диапазона
Связи и замены
Заменяющий:
-
Взамен:
ГОСТ 17467-79;ОСТ 11 073.924-81;РД 11 0422-87
Изменения и переиздания
Список изменений:
№0 от (рег. ) «Поправка к изменению»
Описание стандарта
ГОСТ 17467-88 Микросхемы интегральные. Основные размеры
Страницы стандарта
































































