ГОСТ Р МЭК 61189-2-2012 Методы испытаний электрических материалов, печатных плат и других структур межсоединений и сборочных узлов. Часть 2. Методы испытаний материалов для структур межсоединений
ГОСТ Р МЭК
Скачать ГОСТ в PDF или DOC бесплатно
Основная информация
Обозначение:
ГОСТ Р МЭК 61189-2-2012
Статус:
Действует
Тип:
ГОСТ Р МЭК
Название русское:
Методы испытаний электрических материалов, печатных плат и других структур межсоединений и сборочных узлов. Часть 2. Методы испытаний материалов для структур межсоединений
Название английское:
Test methods for electrical materials, printed boards and other interconnection structures and assemblies. Part 2. Test methods for materials for interconnection structures
Даты и сроки
Дата издания:
09-18-15
Дата введения в действие:
07-01-13
Дата завершения срока действия:
-
Применение и описание
Область и условия применения:
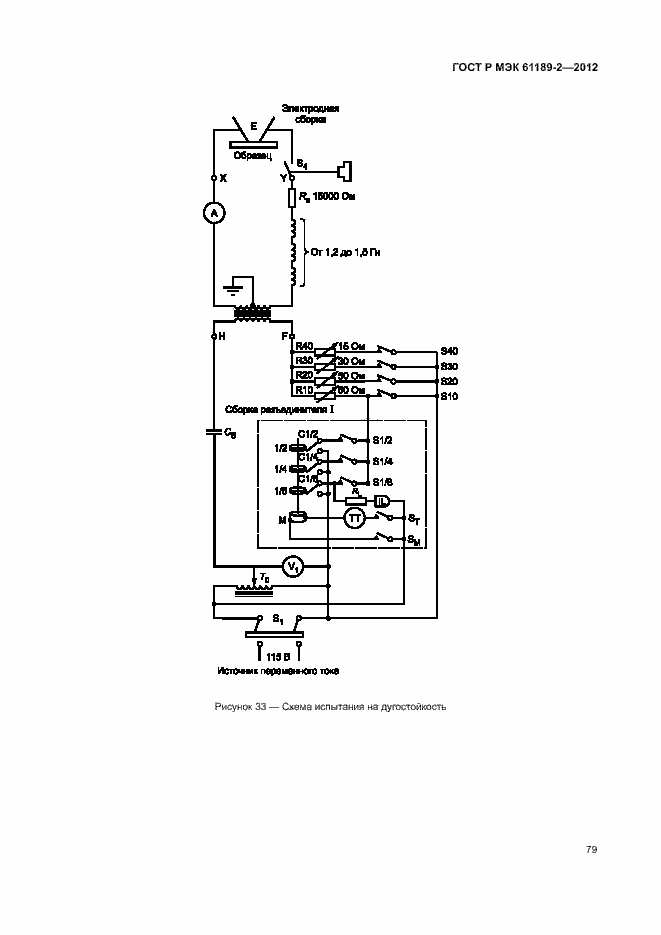
Настоящий стандарт содержит методы испытаний, представляющие методологии и процедуры, которые могут быть применены при испытании материалов, используемых при производстве структур межсоединений (печатных плат) и печатных узлов
Связи и замены
Заменяющий:
-
Описание стандарта
ГОСТ Р МЭК 61189-2-2012 Методы испытаний электрических материалов, печатных плат и других структур межсоединений и сборочных узлов. Часть 2. Методы испытаний материалов для структур межсоединений
Страницы стандарта

















































































































