ГОСТ 4907-81 Концы валов управления изделий электронной техники. Виды и основные размеры
ГОСТ
Скачать ГОСТ в PDF или DOC бесплатно
Основная информация
Обозначение:
ГОСТ 4907-81
Статус:
Действует
Тип:
ГОСТ
Название русское:
Концы валов управления изделий электронной техники. Виды и основные размеры
Название английское:
Control spindle ends of electronic components. Types and basic dimensions
Даты и сроки
Дата издания:
05-01-97
Дата введения в действие:
06-30-82
Дата завершения срока действия:
-
Применение и описание
Область и условия применения:
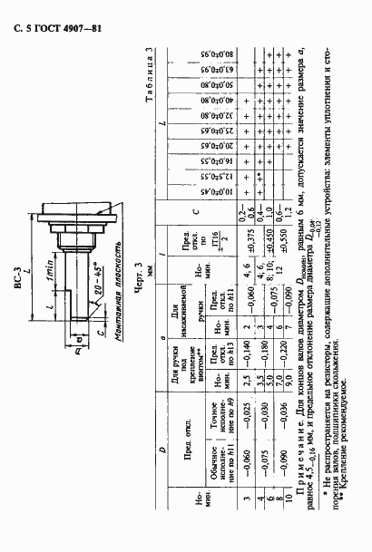
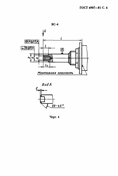
Настоящий стандарт распространяется на концы валов (наружная часть вала, выступающая за элементы крепления) ручного управления поворотных переключателей, переменных резисторов и конденсаторов переменной емкости и устанавливает виды, допускаемые сочетания, основные размеры концов сплошных и полых металлических валов, виды и номинальные размеры концов сплошных неметаллических валов. Стандарт не распространяется на концы валов ВС-1, ВС-3, ВС-4 длиной менее (10,0 плюс минус 0,45) мм и ВС-2 длиной менее (5,0 плюс минус 0,375) мм
Связи и замены
Заменяющий:
-
Взамен:
ГОСТ 4907-73
Изменения и переиздания
Список изменений:
№1 от (рег. ) «Срок действия продлен» №2 от (рег. ) «Срок действия продлен» №3 от (рег. ) «Срок действия продлен» №4 от (рег. ) «Срок действия продлен» №5 от (рег. ) «Срок действия продлен» №6 от (рег. ) «Срок действия продлен»
Описание стандарта
ГОСТ 4907-81 Концы валов управления изделий электронной техники. Виды и основные размеры
Страницы стандарта















