ГОСТ 23586-79 Монтаж электрический радиоэлектронной аппаратуры и приборов. Технические требования к жгутам и их креплению
ГОСТ
Скачать ГОСТ в PDF или DOC бесплатно
Основная информация
Обозначение:
ГОСТ 23586-79
Статус:
Заменен
Тип:
ГОСТ
Название русское:
Монтаж электрический радиоэлектронной аппаратуры и приборов. Технические требования к жгутам и их креплению
Название английское:
Mounting of electric and radioelectronic equipment and instruments. Technical requirements for braids and their fastening
Даты и сроки
Дата издания:
02-01-98
Дата введения в действие:
06-30-80
Дата завершения срока действия:
07-01-01
Применение и описание
Область и условия применения:
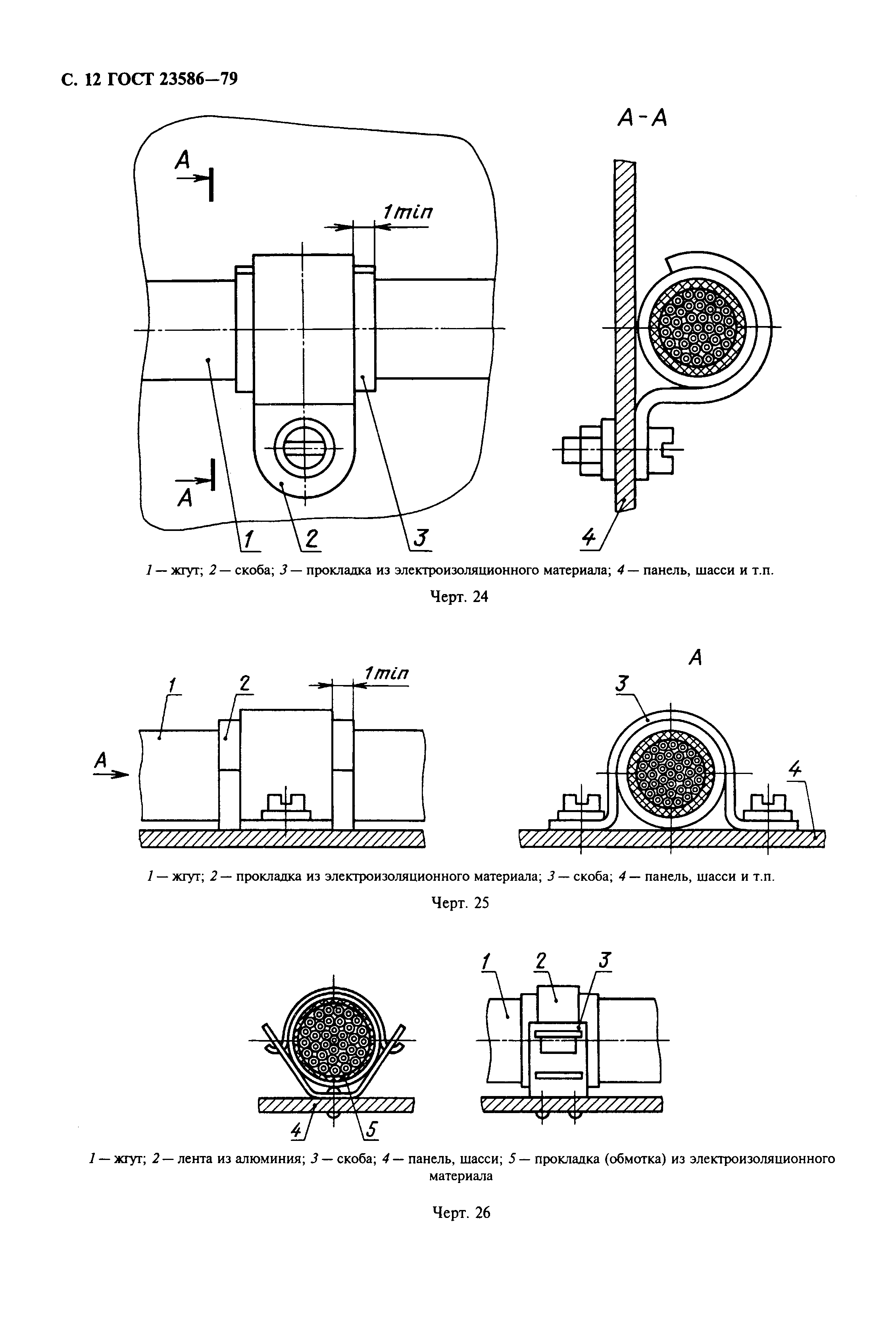
Настоящий стандарт устанавливает технические требования к конструкциям жгутов, применяемых при электрическом монтаже, выполняемом внутри радиоэлектронной аппаратуры, приборов и устройств и отвечающим общим техническим требованиям нормативной документации. Стандарт не распространяется на технические требования к технологическому процессу изготовления и крепления жгутов
Связи и замены
Заменяющий:
ГОСТ 23586-96
Изменения и переиздания
Список изменений:
№0 от (рег. ) «Изменено заглавие»
Описание стандарта
ГОСТ 23586-79 Монтаж электрический радиоэлектронной аппаратуры и приборов. Технические требования к жгутам и их креплению
Страницы стандарта




















