ГОСТ 5.2105-73 Микроскоп лазерный эллипсометрический ЛЭМ-2. Требования к качеству аттестованной продукции
ГОСТ
Скачать ГОСТ в PDF или DOC бесплатно
Основная информация
Обозначение:
ГОСТ 5.2105-73
Статус:
Действует
Тип:
ГОСТ
Название русское:
Микроскоп лазерный эллипсометрический ЛЭМ-2. Требования к качеству аттестованной продукции
Название английское:
Laser ellipsometric microscope ЛЭМ-2. Quality requirements of sertified products
Даты и сроки
Дата издания:
10-04-73
Дата введения в действие:
09-01-73
Дата завершения срока действия:
-
Применение и описание
Область и условия применения:
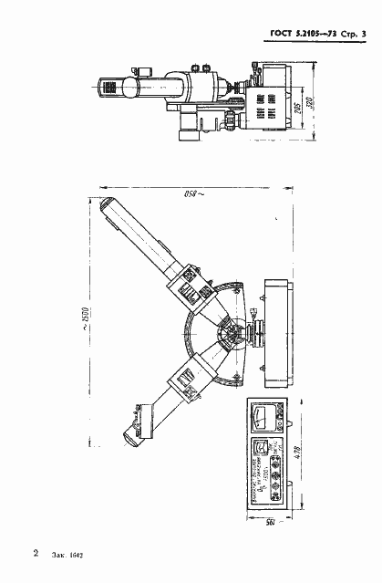
Настоящий стандарт распространяется на лазерный эллипсометрический микроскоп ЛЭМ-2, предназначенный для определения эллипсометрических параметров поляризованного света, определяемых по углам поворота оптических элементов в момент погасания, что позволяет использовать прибор для измерения толщины и показателя преломления прозрачных диэлектрических покрытий на отражающих полированных поверхностях различных материалов и, в частности, на полупроводниковых пластинах, а также для контроля равномерности и однородности диэлектрических пленок по площади и определения наличия и толщины окисла в окнах, вытравленных в процессе изготовления полупроводниковых приборов
Связи и замены
Заменяющий:
-
Описание стандарта
ГОСТ 5.2105-73 Микроскоп лазерный эллипсометрический ЛЭМ-2. Требования к качеству аттестованной продукции
Страницы стандарта












