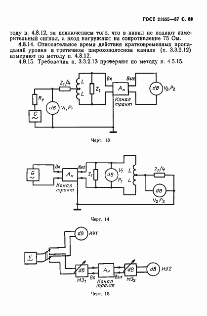
ГОСТ 21655-87 Каналы и тракты магистральной первичной сети единой автоматизированной системы связи. Электрические параметры и методы измерений
ГОСТ
Скачать ГОСТ в PDF или DOC бесплатно
Основная информация
Обозначение:
ГОСТ 21655-87
Статус:
Действует
Тип:
ГОСТ
Название русское:
Каналы и тракты магистральной первичной сети единой автоматизированной системы связи. Электрические параметры и методы измерений
Название английское:
Channels and links of primary trunk network within all-union automatic communication system. Electric parameters and methods of measurement
Даты и сроки
Дата издания:
02-19-88
Дата введения в действие:
01-01-89
Дата завершения срока действия:
-
Применение и описание
Область и условия применения:
Настоящий стандарт распространяется на каналы тональной частоты, первичные, вторичные и третичные сетевые тракты и первичные, вторичные и третичные широкополосные каналы магистральной первичной сети между сетевыми станциями и сетевыми узлами магистральной сети, образованные в системах передачи с частотным разделением каналов (кабельные системы передачи), радиорелейные системы передачи прямой видимости, спутниковые системы передачи и предназначенные для организации передачи сигналов сообщений различных видов между отдельными пунктами сети. Стандарт устанавливает нормы электрических параметров и методы их измерений
Связи и замены
Заменяющий:
-
Описание стандарта
ГОСТ 21655-87 Каналы и тракты магистральной первичной сети единой автоматизированной системы связи. Электрические параметры и методы измерений
Страницы стандарта









































































































