ГОСТ 26113-84 Процедуры управления звеном передачи данных. Элементы балансных процедур при одновременной двусторонней передаче информации и защиты от ошибок
ГОСТ
Скачать ГОСТ в PDF или DOC бесплатно
Основная информация
Обозначение:
ГОСТ 26113-84
Статус:
Действует
Тип:
ГОСТ
Название русское:
Процедуры управления звеном передачи данных. Элементы балансных процедур при одновременной двусторонней передаче информации и защиты от ошибок
Название английское:
High level data link control procedures. Elements of balanced procedures by the two-way simul-taneous data communication and error recovery
Даты и сроки
Дата издания:
06-19-84
Дата введения в действие:
06-30-85
Дата завершения срока действия:
-
Применение и описание
Область и условия применения:
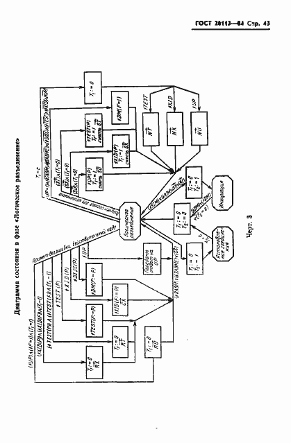
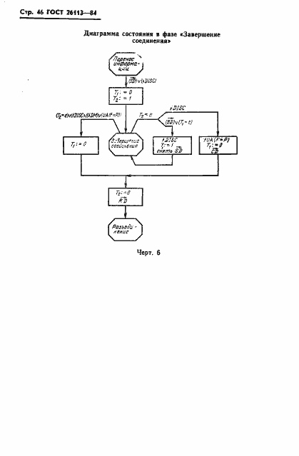
Настоящий стандарт распространяется на балансные процедуры управления двухпунктовым звеном передачи данных (ПД) по одному незащищенному от ошибок каналу ПД, организованному на базе Единой автоматизированной сети связи, с кодонезависимостью, ориентированной на биты, и применяемые на абонентских и межцентровых участках сетей ПД общего пользования для переноса сообщений или пакетов данных переменной длины. Настоящий стандарт распространяется на аппаратуру, техническое задание на которую утверждено до 01.01.90.Стандарт не распространяется на процедуры при двусторонней поочередной и односторонней передаче информации, а также на процедуры, не использующие для защиты от ошибок циклические коды
Связи и замены
Заменяющий:
-
Изменения и переиздания
Список изменений:
№1 от (рег. ) «Срок действия продлен»
Описание стандарта
ГОСТ 26113-84 Процедуры управления звеном передачи данных. Элементы балансных процедур при одновременной двусторонней передаче информации и защиты от ошибок
Страницы стандарта


















































