ГОСТ 5238-81 Установки проводной связи. Схемы защиты от опасных напряжений и токов, возникающих на линиях. Технические требования
ГОСТ
Скачать ГОСТ в PDF или DOC бесплатно
Основная информация
Обозначение:
ГОСТ 5238-81
Статус:
Действует
Тип:
ГОСТ
Название русское:
Установки проводной связи. Схемы защиты от опасных напряжений и токов, возникающих на линиях. Технические требования
Название английское:
Line communication sets. Protection circuits from dangerous voltages and currents arisen at lines. Specifications
Даты и сроки
Дата издания:
07-01-98
Дата введения в действие:
01-01-83
Дата завершения срока действия:
-
Применение и описание
Область и условия применения:
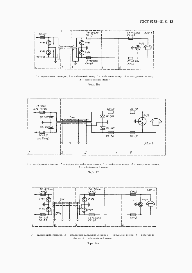
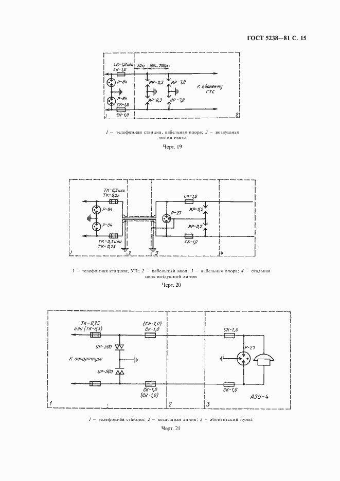
Настоящий стандарт распространяется на станционные и линейные установки сетей междугородной, городской, сельской и железнодорожной телефонно-телеграфной связи и устанавливает основные технические требования к схемам защиты установок проводной связи от опасных напряжений и токов, возникающих на линиях связи при грозовых разрядах, и других импульсных воздействиях, при опасном влиянии линий электропередачи и соприкосновении проводов линий связи с проводами линий электропередачи напряжением до 600 В, а также технического персонала и абонентов от акустических ударов. Стандарт не распространяется: - на установки проводной связи энергосистем, линии которых обслуживаются как высоковольтные; - на установки проводной связи, расположенные внутри защитного заземляющего контура установок высокого напряжения или вне этого контура, если потенциал земли может достигать опасных значений; - на устройства сигнализации, централизации и блокировки на железных дорогах
Связи и замены
Заменяющий:
-
Взамен:
ГОСТ 5238-73
Изменения и переиздания
Список изменений:
№1 от (рег. ) «Срок действия продлен» №2 от (рег. ) «Поправка»
Описание стандарта
ГОСТ 5238-81 Установки проводной связи. Схемы защиты от опасных напряжений и токов, возникающих на линиях. Технические требования
Страницы стандарта






















