ГОСТ IEC 61142-2011 Обмен данными при считывании показаний счетчиков, тарификации и управлении нагрузкой. Обмен данными по локальной шине
ГОСТ МЭК
Скачать ГОСТ в PDF или DOC бесплатно
Основная информация
Обозначение:
ГОСТ IEC 61142-2011
Статус:
Действует
Тип:
ГОСТ МЭК
Название русское:
Обмен данными при считывании показаний счетчиков, тарификации и управлении нагрузкой. Обмен данными по локальной шине
Название английское:
Data exchange for meter reading, tariff and load control. Local bus data exchange
Даты и сроки
Дата регистрации:
11-29-11
Дата издания:
07-14-20
Дата введения в действие:
01-01-13
Дата завершения срока действия:
-
Применение и описание
Область и условия применения:
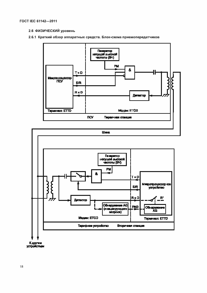
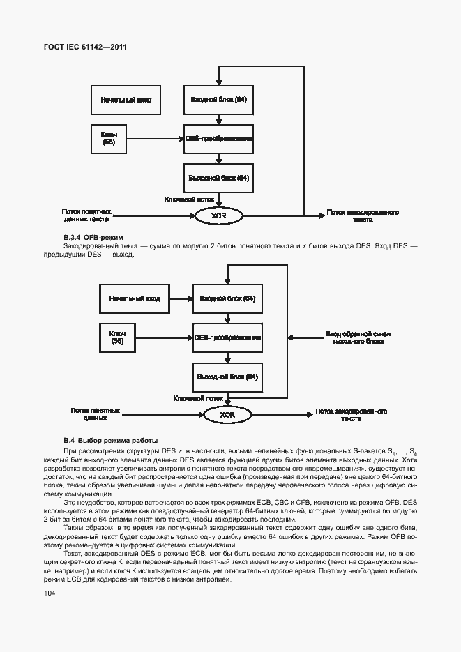
Настоящий стандарт описывает процедуру обмена данными по локальной шине в случае, когда несколько тарифных устройств, распределенных в пространстве, соединено специальной шиной. Считывание данных этих тарифных устройств может осуществляться посредством подключения программирующе-считывающего устройства к центральному магнитному разъему. Стандарт устанавливает требования, предъявляемые к аппаратным средствам и протоколам для локальных систем. Требования для дистанционных систем рассматриваются в другом стандарте
Связи и замены
Заменяющий:
-
Описание стандарта
ГОСТ IEC 61142-2011 Обмен данными при считывании показаний счетчиков, тарификации и управлении нагрузкой. Обмен данными по локальной шине
Страницы стандарта

















































































































