ГОСТ Р 50668-94 Цепи стыка С2 системы передачи данных. Требования к временным характеристикам сигналов при стартcтопной и синхронной передаче
ГОСТ Р
Скачать ГОСТ в PDF или DOC бесплатно
Основная информация
Обозначение:
ГОСТ Р 50668-94
Статус:
Действует
Тип:
ГОСТ Р
Название русское:
Цепи стыка С2 системы передачи данных. Требования к временным характеристикам сигналов при стартcтопной и синхронной передаче
Название английское:
Circuits of the interface C2 of the data transmission system. Requirements by temporary characteristics of signals by start-stop and synchronous transmissions
Даты и сроки
Дата издания:
08-05-94
Дата введения в действие:
06-30-95
Дата завершения срока действия:
-
Применение и описание
Область и условия применения:
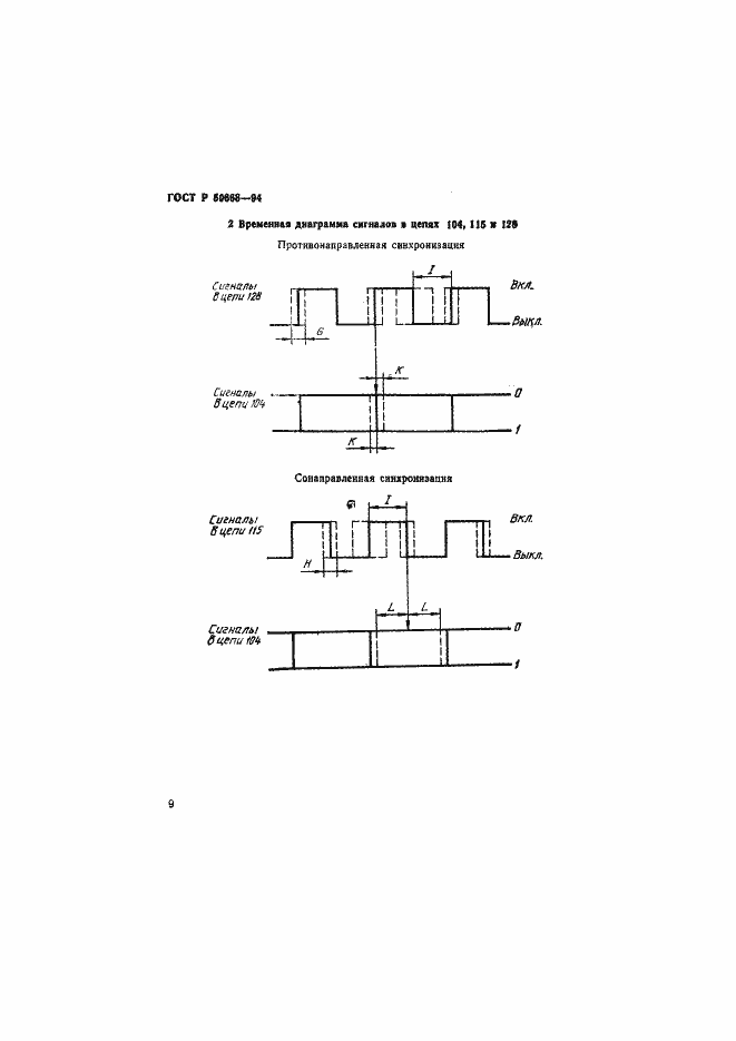
Настоящий стандарт распространяется на цепи передачи данных и синхронизации стыка С2 между оконечным оборудованием данных (ООД) и аппаратурой передачи данных (АПД) по ГОСТ 18145 и ГОСТ 23675. Стандарт устанавливает требования к временным характеристикам сигналов, определяющим качество синхронизации при стартстопной и синхронной передаче
Связи и замены
Заменяющий:
-
Описание стандарта
ГОСТ Р 50668-94 Цепи стыка С2 системы передачи данных. Требования к временным характеристикам сигналов при стартcтопной и синхронной передаче
Страницы стандарта













