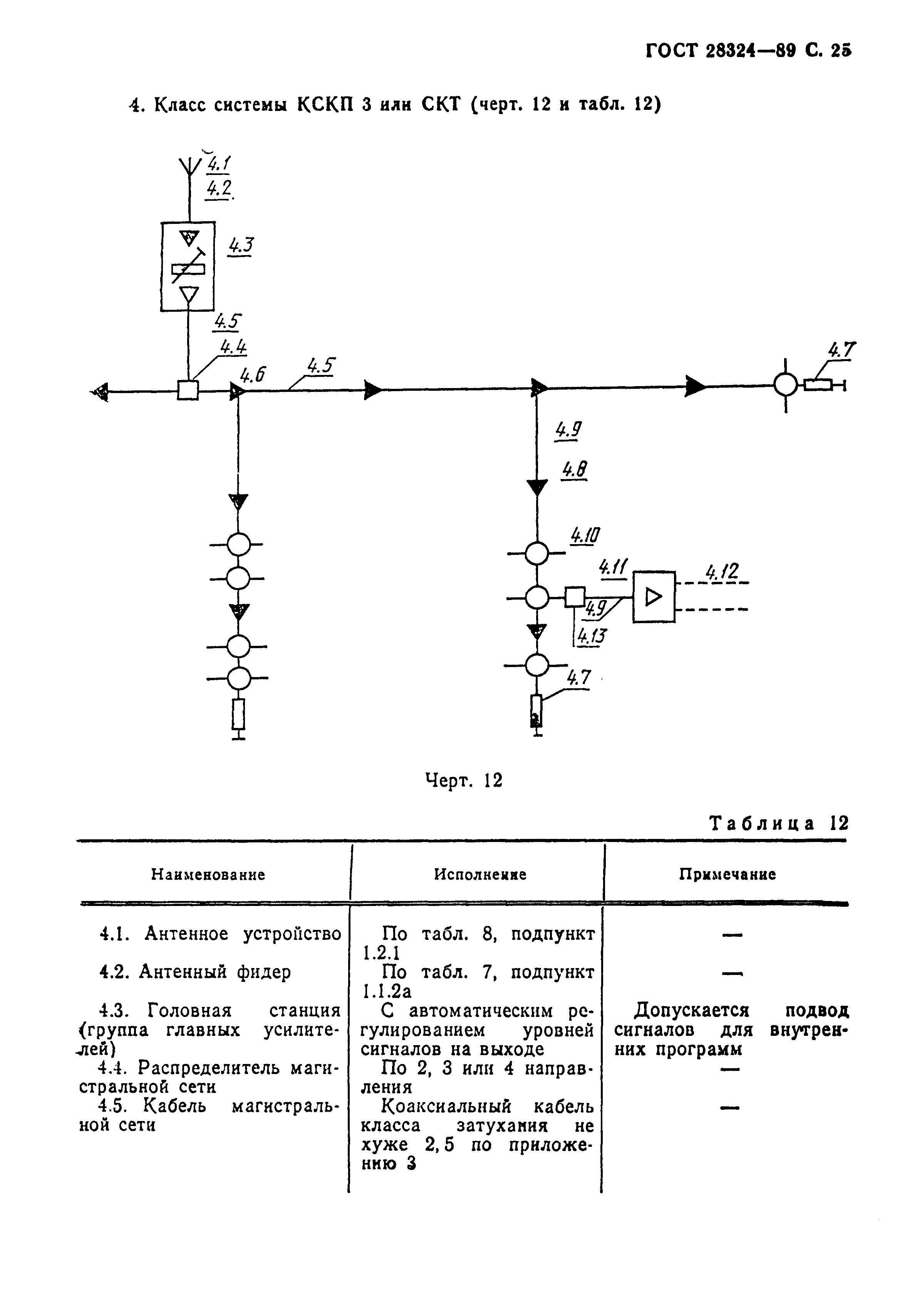
ГОСТ 28324-89 Сети распределительные приемных систем телевидения и радиовещания. Классификация приемных систем, основные параметры и технические требования
ГОСТ
Скачать ГОСТ в PDF или DOC бесплатно
Основная информация
Обозначение:
ГОСТ 28324-89
Статус:
Утратил силу в РФ
Тип:
ГОСТ
Название русское:
Сети распределительные приемных систем телевидения и радиовещания. Классификация приемных систем, основные параметры и технические требования
Название английское:
Distribution networks of receiving TV and radio systems. Classification of receiving systems, basic parameters and technical requirements
Даты и сроки
Дата издания:
01-01-90
Дата введения в действие:
01-01-91
Дата завершения срока действия:
07-01-03
Связи и замены
Заменяющий:
-
Изменения и переиздания
Список изменений:
№0 от (рег. ) «Поправка к изменению»
Описание стандарта
ГОСТ 28324-89 Сети распределительные приемных систем телевидения и радиовещания. Классификация приемных систем, основные параметры и технические требования
Страницы стандарта





























