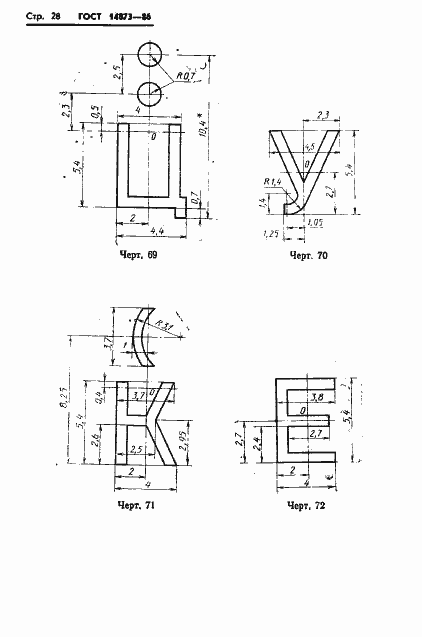
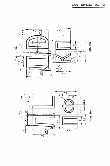
ГОСТ 14873-86 Клавиатура телеграфных аппаратов. Общие технические требования
ГОСТ
Скачать ГОСТ в PDF или DOC бесплатно
Основная информация
Обозначение:
ГОСТ 14873-86
Статус:
Действует
Тип:
ГОСТ
Название русское:
Клавиатура телеграфных аппаратов. Общие технические требования
Название английское:
Keyboard of telegraph apparatus. General technical requirements
Даты и сроки
Дата издания:
10-13-86
Дата введения в действие:
01-01-88
Дата завершения срока действия:
-
Применение и описание
Область и условия применения:
Настоящий стандарт распространяется на клавиатуру телеграфных аппаратов, работающих пятиэлементным кодом, и клавиатуру аппаратов, работающих семиэлементным кодом
Связи и замены
Заменяющий:
-
Взамен:
ГОСТ 14873-79;ГОСТ 19653-74
Изменения и переиздания
Список изменений:
№1 от (рег. ) «Срок действия продлен» №2 от (рег. ) «Срок действия продлен»
Описание стандарта
ГОСТ 14873-86 Клавиатура телеграфных аппаратов. Общие технические требования
Страницы стандарта











































































