ГОСТ Р 55897-2013 Сети подвижной радиосвязи. Зоны обслуживания. Методы расчета
ГОСТ Р
Скачать ГОСТ в PDF или DOC бесплатно
Основная информация
Обозначение:
ГОСТ Р 55897-2013
Статус:
Действует
Тип:
ГОСТ Р
Название русское:
Сети подвижной радиосвязи. Зоны обслуживания. Методы расчета
Название английское:
Radiocommunication networks. Service zones. Calculation methods
Даты и сроки
Дата издания:
04-14-20
Дата введения в действие:
07-01-14
Дата завершения срока действия:
-
Применение и описание
Область и условия применения:
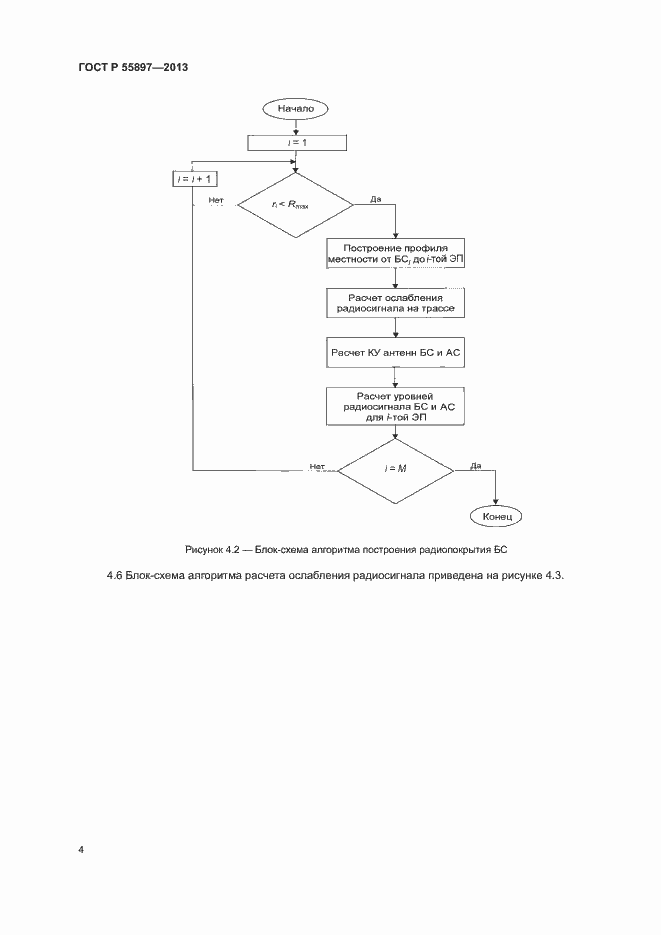
Настоящий стандарт распространяется на беспроводные сети подвижной и фиксированной связи (cети СПС и радиодоступа), работающие в полосах частот от 30 МГц до 10 ГГц. Стандарт устанавливает методы расчета и построения территориальных зон, в которых абонентская станция сети может быть обслужена базовой станцией сети. Методы расчета, установленные в настоящем стандарте, применяют на стадиях проектирования сетей подвижной радиосвязи. Методы расчета основаны на применении рекомендаций МСЭ и учитывают топографические, климатические особенности территории, условия распространения радиоволн, технические характеристики оборудования
Связи и замены
Заменяющий:
-
Описание стандарта
ГОСТ Р 55897-2013 Сети подвижной радиосвязи. Зоны обслуживания. Методы расчета
Страницы стандарта















