ГОСТ Р 51741-2001 Передатчики радиовещательные стационарные диапазона ОВЧ. Основные параметры, технические требования и методы измерений
ГОСТ Р
Скачать ГОСТ в PDF или DOC бесплатно
Основная информация
Обозначение:
ГОСТ Р 51741-2001
Статус:
Действует
Тип:
ГОСТ Р
Название русское:
Передатчики радиовещательные стационарные диапазона ОВЧ. Основные параметры, технические требования и методы измерений
Название английское:
Broadcasting transmitters, fixed Very High Frequency (VHF). Main parameters, technical requirements and methods of measurement
Даты и сроки
Дата издания:
08-01-02
Дата введения в действие:
01-01-02
Дата завершения срока действия:
-
Применение и описание
Область и условия применения:
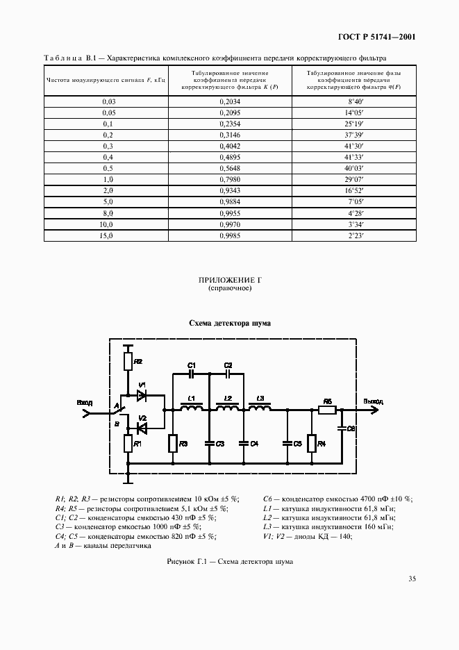
Настоящий стандарт распространяется на стационарные радиовещательные передатчики с частотной модуляцией, предназначенные для монофонического и стереофонического вещания в диапазоне очень высоких частот, рассчитанные на работу без постоянного обслуживающего персонала. Стандарт устанавливает основные параметры, технические требования и методы измерений основных параметров передатчиков
Связи и замены
Заменяющий:
-
Описание стандарта
ГОСТ Р 51741-2001 Передатчики радиовещательные стационарные диапазона ОВЧ. Основные параметры, технические требования и методы измерений
Страницы стандарта






































