ГОСТ Р 55108-2012 Глобальные навигационные спутниковые системы. Морские дифференциальные подсистемы. Контрольно-корректирующая станция. Общие требования, методы и требуемые результаты испытаний
ГОСТ Р
Скачать ГОСТ в PDF или DOC бесплатно
Основная информация
Обозначение:
ГОСТ Р 55108-2012
Статус:
Заменен
Тип:
ГОСТ Р
Название русское:
Глобальные навигационные спутниковые системы. Морские дифференциальные подсистемы. Контрольно-корректирующая станция. Общие требования, методы и требуемые результаты испытаний
Название английское:
The Global navigation satellite systems. Maritime differential subsystems. Reference station. General requirements, test мethods and required test results
Даты и сроки
Дата издания:
06-14-13
Дата введения в действие:
05-01-13
Дата завершения срока действия:
01-01-17
Применение и описание
Область и условия применения:
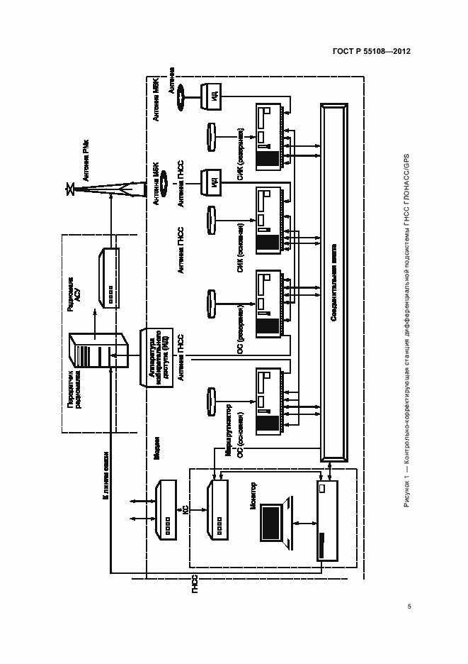
Настоящий стандарт распространяется на контрольно-корректирующую станцию, входящую в состав морской дифференциальной подсистемы глобальной навигационной спутниковой системы ГЛОНАСС/GPS/ГАЛИЛЕО, используемой на водном транспорте. Настоящий стандарт устанавливает требования к контрольно-корректирующей станции в части формирования корректирующей информации и контроля качества функционирования контрольно-корректирующей станции и глобальной навигационной спутниковой системы ГЛОНАСС/GPS/ГАЛИЛЕО в рабочей зоне. Настоящий стандарт не распространяется на дополнительные возможности, связанные с вычислительными функциями и передачей выходных данных, которые обеспечены в аппаратуре и которые не должны ухудшать основные характеристики контрольно - корректирующей станции
Связи и замены
Заменяющий:
ГОСТ Р 55108-2016
Описание стандарта
ГОСТ Р 55108-2012 Глобальные навигационные спутниковые системы. Морские дифференциальные подсистемы. Контрольно-корректирующая станция. Общие требования, методы и требуемые результаты испытаний
Страницы стандарта































