ГОСТ 30804.4.11-2013 Совместимость технических средств электромагнитная. Устойчивость к провалам, кратковременным прерываниям и изменениям напряжения электропитания. Требования и методы испытаний
ГОСТ
Скачать ГОСТ в PDF или DOC бесплатно
Основная информация
Обозначение:
ГОСТ 30804.4.11-2013
Статус:
Действует
Тип:
ГОСТ
Название русское:
Совместимость технических средств электромагнитная. Устойчивость к провалам, кратковременным прерываниям и изменениям напряжения электропитания. Требования и методы испытаний
Название английское:
Electromagnetic compatibility of technical equipment. Voltage dips, short interruptions and voltage variations immunity. Requirements and test methods
Даты и сроки
Дата регистрации:
03-25-13
Дата издания:
06-25-20
Дата введения в действие:
01-01-14
Дата завершения срока действия:
-
Применение и описание
Область и условия применения:
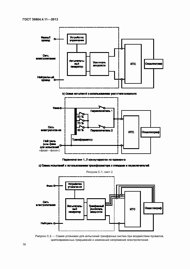
Настоящий стандарт устанавливает методы испытаний электротехнических, электронных и радиоэлектронных изделий и оборудования (далее - технические средства), подключаемых к низковольтным (напряжением не выше 1000 В) электрическим сетям переменного тока, на устойчивость к воздействию провалов, кратковременных прерываний и изменений напряжения электропитания, а также рекомендуемые уровни испытательных напряжений при проведении испытаний на помехоустойчивость (далее - уровни испытательных напряжений). Требования настоящего стандарта применяют для технических средств (ТС) с номинальным потребляемым током не более 16 А в одной фазе, подключаемых к электрическим сетям переменного тока частотой 50 Гц. Настоящий стандарт не распространяется на ТС, подключаемые к электрическим сетям переменного тока частотой 400 Гц. Цель настоящего стандарта заключается в установлении общих правил оценки помехоустойчивости ТС при воздействии провалов, кратковременных прерываний и изменений напряжения электропитания
Связи и замены
Заменяющий:
-
Описание стандарта
ГОСТ 30804.4.11-2013 Совместимость технических средств электромагнитная. Устойчивость к провалам, кратковременным прерываниям и изменениям напряжения электропитания. Требования и методы испытаний
Страницы стандарта






















