ГОСТ Р 52459.25-2009 Совместимость технических средств электромагнитная. Технические средства радиосвязи. Часть 25. Частные требования к подвижным станциям CDMA 1х с расширенным спектром и вспомогательному оборудованию
ГОСТ Р
Скачать ГОСТ в PDF или DOC бесплатно
Основная информация
Обозначение:
ГОСТ Р 52459.25-2009
Статус:
Действует
Тип:
ГОСТ Р
Название русское:
Совместимость технических средств электромагнитная. Технические средства радиосвязи. Часть 25. Частные требования к подвижным станциям CDMA 1х с расширенным спектром и вспомогательному оборудованию
Название английское:
Electromagnetic compatibility of technical equipment. Radio communication equipment. Part 25. Specific requirements for CDMA 1x spread spectrum mobile stations and ancillary equipment
Даты и сроки
Дата издания:
06-29-20
Дата введения в действие:
01-01-10
Дата завершения срока действия:
-
Применение и описание
Область и условия применения:
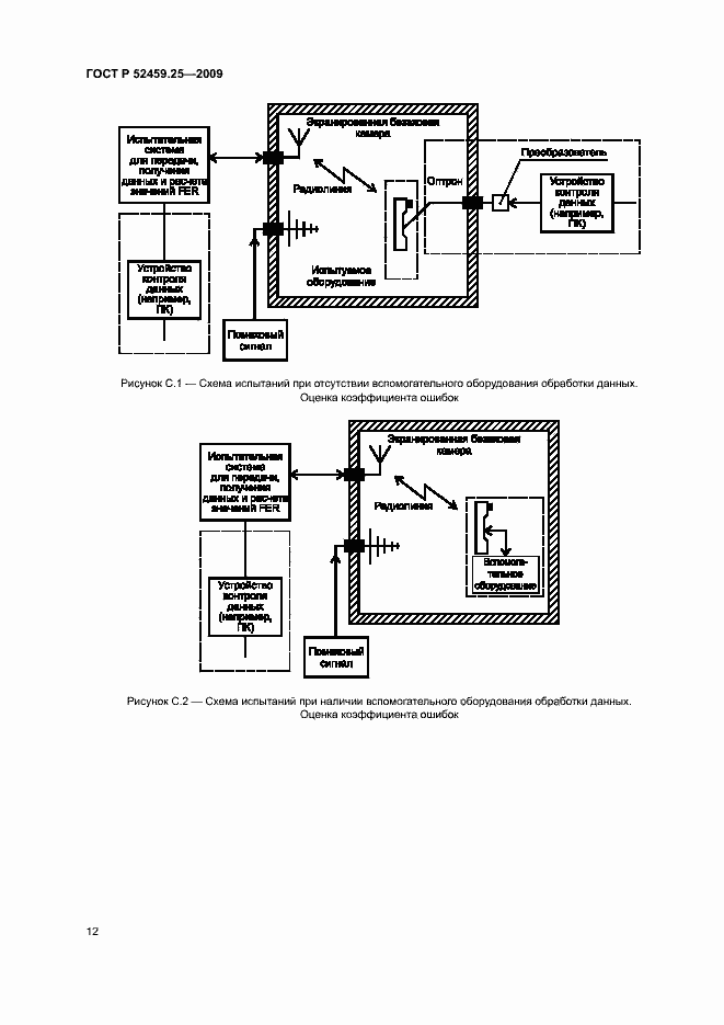
Настоящий стандарт, совместно с ГОСТ Р 52459.1, устанавливает требования электромагнитной совместимости к подвижному и портативному оконечному радиооборудованию CDMA 1х с расширенным спектром и связанному с ним вспомогательному оборудованию, а также соответствующие методы испытаний. Настоящий стандарт не устанавливает требований, относящихся к антенному порту радиооборудования CDMA 1х с расширенным спектром и электромагнитной эмиссии от порта корпуса этого радиооборудования. Настоящий стандарт устанавливает условия испытаний, оценку качества функционирования и критерии качества функционирования для подвижного и портативного оконечного радиооборудования CDMA 1х с расширенным спектром и связанного с ним вспомогательного оборудования. Требования настоящего стандарта не распространяются на базовые станции CDMA 1х с расширенным спектром, работающие в инфраструктуре сети. Однако к области применения настоящего стандарта относят подвижное и портативное оборудование, предназначенное для работы в определенных пунктах при подключении к сети переменного тока
Связи и замены
Заменяющий:
-
Описание стандарта
ГОСТ Р 52459.25-2009 Совместимость технических средств электромагнитная. Технические средства радиосвязи. Часть 25. Частные требования к подвижным станциям CDMA 1х с расширенным спектром и вспомогательному оборудованию
Страницы стандарта



















