ГОСТ IEC 61000-4-13-2016 Электромагнитная совместимость (ЭМС). Часть 4-13. Методы испытаний и измерений. Воздействие гармоник и интергармоник, включая сигналы, передаваемые по электрическим сетям, на порт электропитания переменного тока. Низкочастотные испытания на помехоустойчивость
ГОСТ МЭК
Скачать ГОСТ в PDF или DOC бесплатно
Основная информация
Обозначение:
ГОСТ IEC 61000-4-13-2016
Статус:
Действует
Тип:
ГОСТ МЭК
Название русское:
Электромагнитная совместимость (ЭМС). Часть 4-13. Методы испытаний и измерений. Воздействие гармоник и интергармоник, включая сигналы, передаваемые по электрическим сетям, на порт электропитания переменного тока. Низкочастотные испытания на помехоустойчивость
Название английское:
Electromagnetic compatibility (EMC). Part 4-13. Testing and measurement techniques. Harmonics and interharmonics including mains signalling at a.c. power port. Low frequency immunity tests
Даты и сроки
Дата регистрации:
04-20-16
Дата издания:
06-09-20
Дата введения в действие:
06-01-17
Дата завершения срока действия:
-
Применение и описание
Область и условия применения:
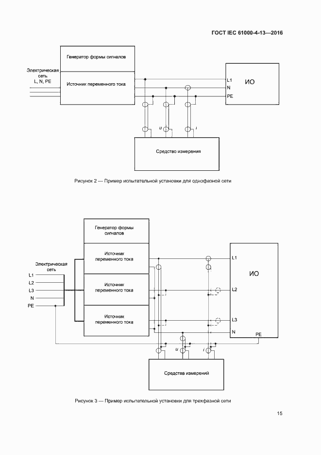
Настоящий стандарт распространяется на электрическое и электронное оборудование с номинальным током до 16 А на фазу и устанавливает методы испытаний на устойчивость к гармоникам и интергармоникам в низковольтных электрических сетях при частотах помех не более 2 кГц (для сети 50 Гц) и 2,4 кГц (для сети 60 Гц), а также рекомендуемые основные испытательные уровни. Стандарт не распространяется на электрическое и электронное оборудование, подключаемое к электрическим сетям частотой 16 2/3 или 400 Гц. Настоящий стандарт имеет целью установить общую основу для оценки функциональной устойчивости электрического и электронного оборудования при воздействии гармоник и интергармоник напряжения электропитания и частот сигналов, передаваемых по электрическим сетям. Согласованный метод испытаний, установленный в настоящем стандарте, позволяет оценить устойчивость оборудования к этим электромагнитным явлениям
Связи и замены
Заменяющий:
-
Описание стандарта
ГОСТ IEC 61000-4-13-2016 Электромагнитная совместимость (ЭМС). Часть 4-13. Методы испытаний и измерений. Воздействие гармоник и интергармоник, включая сигналы, передаваемые по электрическим сетям, на порт электропитания переменного тока. Низкочастотные испытания на помехоустойчивость
Страницы стандарта


























