ГОСТ IEC 61000-4-5-2017 Электромагнитная совместимость (ЭМС). Часть 4-5. Методы испытаний и измерений. Испытание на устойчивость к выбросу напряжения
ГОСТ МЭК
Скачать ГОСТ в PDF или DOC бесплатно
Основная информация
Обозначение:
ГОСТ IEC 61000-4-5-2017
Статус:
Действует
Тип:
ГОСТ МЭК
Название русское:
Электромагнитная совместимость (ЭМС). Часть 4-5. Методы испытаний и измерений. Испытание на устойчивость к выбросу напряжения
Название английское:
Electromagnetic compatibility (EMC). Part 4-5. Testing and measurement techniques. Surge immunity test
Даты и сроки
Дата регистрации:
12-12-17
Дата издания:
06-28-20
Дата введения в действие:
12-01-18
Дата завершения срока действия:
-
Применение и описание
Область и условия применения:
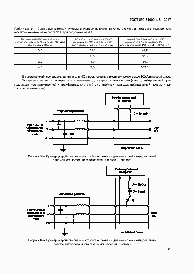
Настоящий стандарт устанавливает требования помехоустойчивости, методы испытаний и диапазон рекомендуемых испытательных уровней для оборудования с учетом однополярных выбросов напряжения, вызванных перенапряжениями от переходных процессов в результате коммутации или разрядов молнии. Установлены несколько испытательных уровней, относящихся к различным условиям окружающей обстановки и размещения. Эти требования разработаны и применимы для электрического и электронного оборудования. Целью настоящего стандарта является установление основы для оценки помехоустойчивости электрического и электронного оборудования при воздействии выбросов напряжения. Метод испытания, представленный в настоящем стандарте, описывает согласованный метод для оценки устойчивости оборудования или системы в отношении определенного явления
Связи и замены
Заменяющий:
-
Описание стандарта
ГОСТ IEC 61000-4-5-2017 Электромагнитная совместимость (ЭМС). Часть 4-5. Методы испытаний и измерений. Испытание на устойчивость к выбросу напряжения
Страницы стандарта

































































