ГОСТ Р 50007-92 Совместимость технических средств электромагнитная. Устойчивость к микросекундным импульсным помехам большой энергии. Технические требования и методы испытаний
ГОСТ Р
Скачать ГОСТ в PDF или DOC бесплатно
Основная информация
Обозначение:
ГОСТ Р 50007-92
Статус:
Заменен
Тип:
ГОСТ Р
Название русское:
Совместимость технических средств электромагнитная. Устойчивость к микросекундным импульсным помехам большой энергии. Технические требования и методы испытаний
Название английское:
Electromagnetic compatibility of technical equipment. Microsecond impulse disturbance immunity. Technical requirements and test methods
Даты и сроки
Дата издания:
12-25-92
Дата введения в действие:
06-30-93
Дата завершения срока действия:
01-01-01
Применение и описание
Область и условия применения:
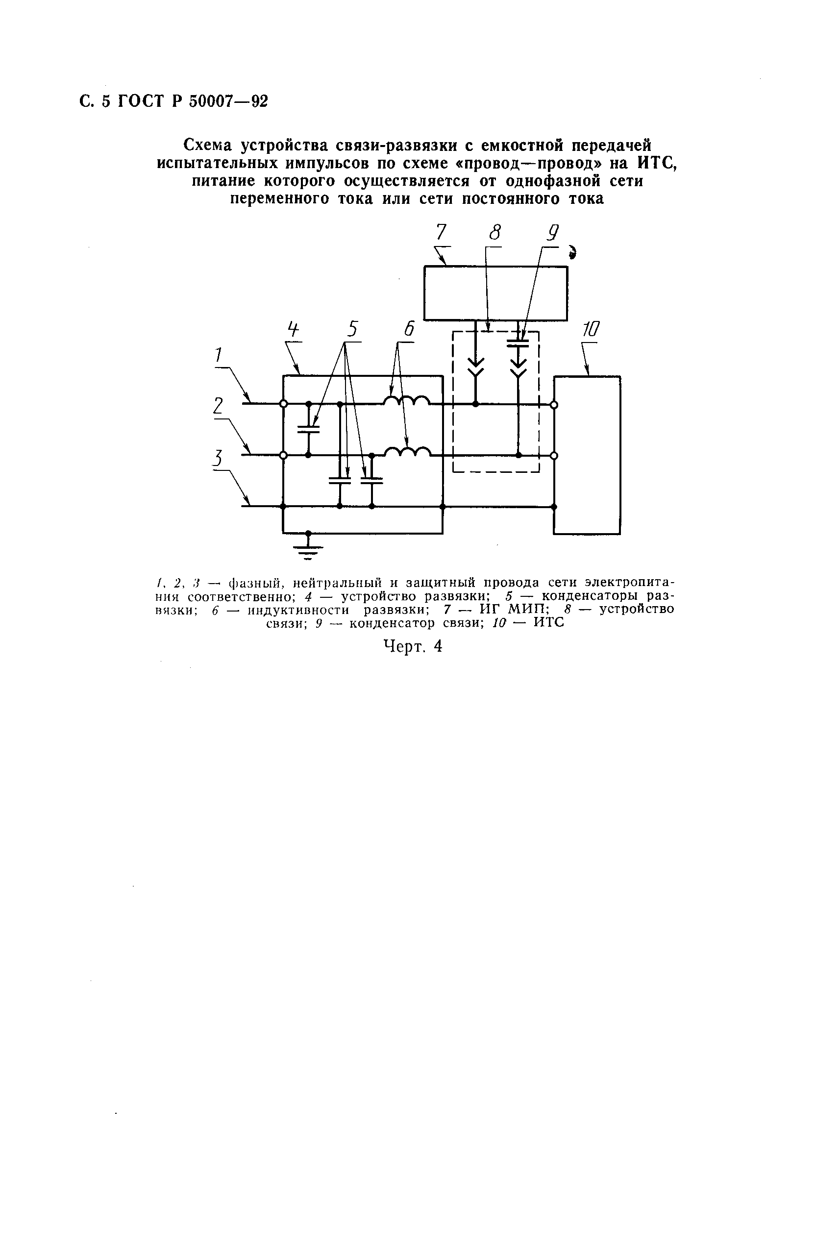
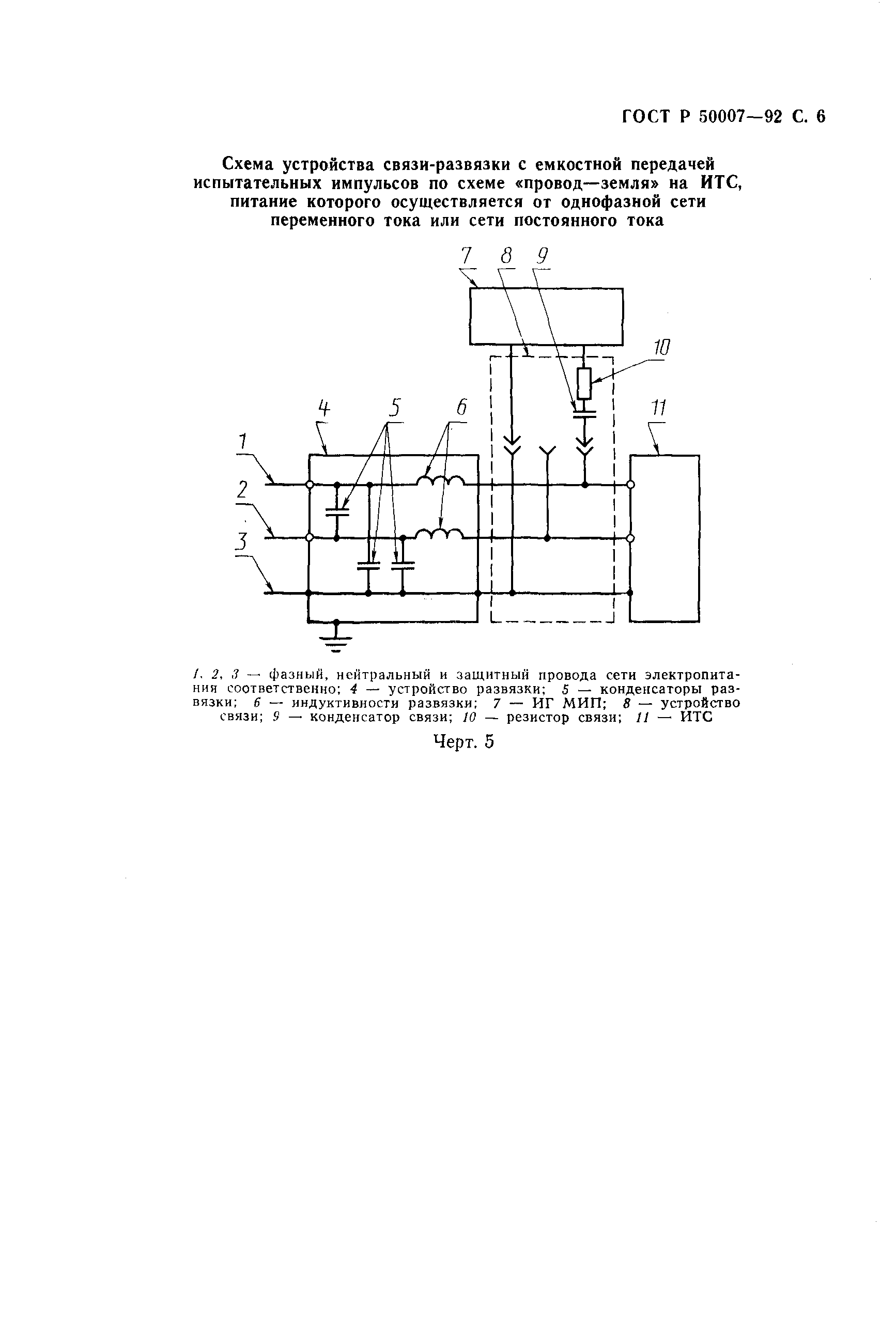
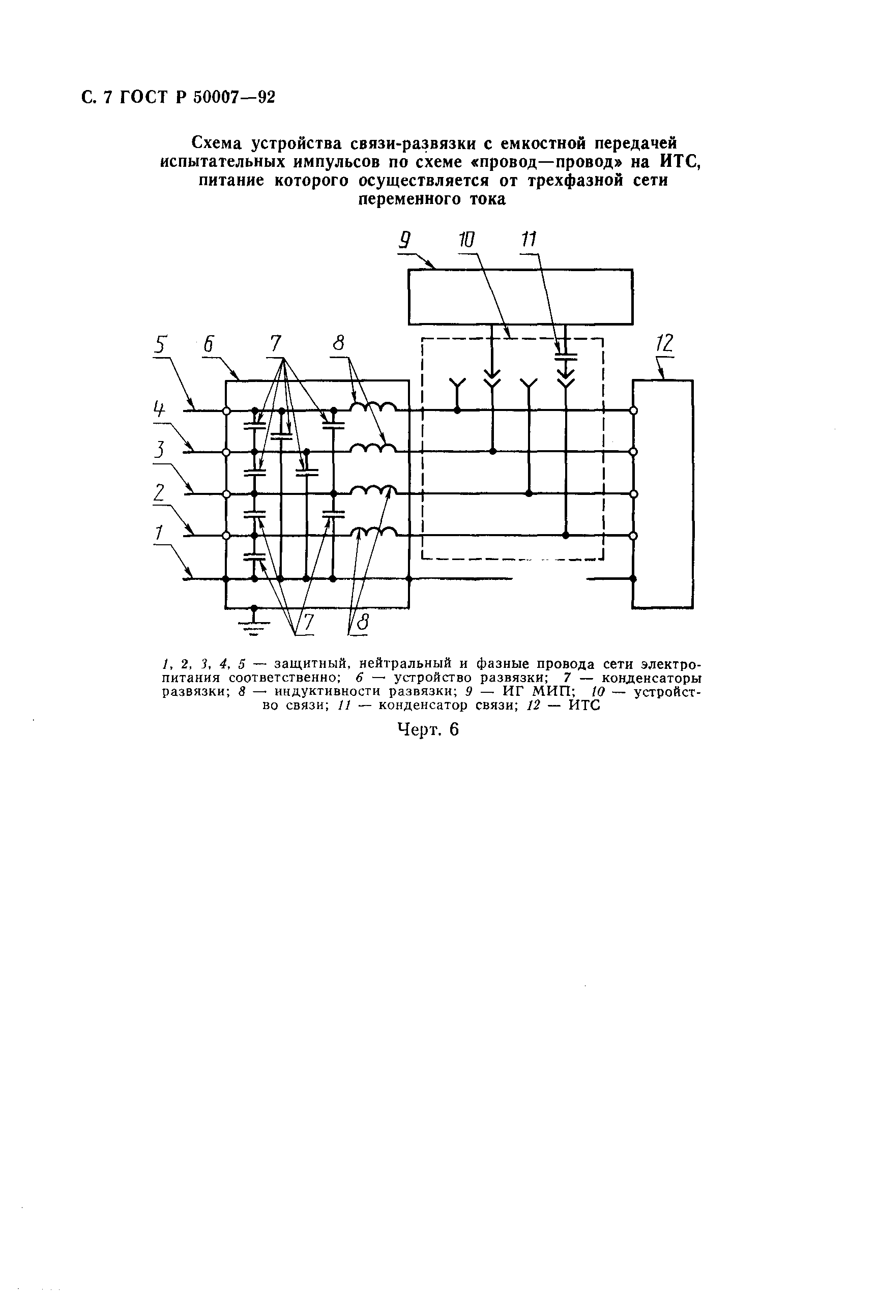
Настоящий стандарт распространяется на электротехнические, радиоэлектронные и электронные изделия, оборудование и аппаратуру (далее - ТС).Стандарт устанавливает технические требования к вновь разрабатываемым, изготавливаемым, модернизируемым и импортируемым ТС в части степеней жесткости испытаний и методы испытаний на устойчивость к микросекундным импульсным помехам большой энергии, образуемым в цепях электропитания переходными процессами от молниевых разрядов и различного рода переключений.Требования и методы, изложенные в стандарте, не распространяются на испытания прочности изоляции ТС
Связи и замены
Заменяющий:
ГОСТ Р 51317.4.5-99
Описание стандарта
ГОСТ Р 50007-92 Совместимость технических средств электромагнитная. Устойчивость к микросекундным импульсным помехам большой энергии. Технические требования и методы испытаний
Страницы стандарта















