ГОСТ Р 50012-92 Совместимость технических средств электромагнитная. Электрооборудование силовое. Методы измерения параметров низкочастотного периодического магнитного поля
ГОСТ Р
Скачать ГОСТ в PDF или DOC бесплатно
Основная информация
Обозначение:
ГОСТ Р 50012-92
Статус:
Действует
Тип:
ГОСТ Р
Название русское:
Совместимость технических средств электромагнитная. Электрооборудование силовое. Методы измерения параметров низкочастотного периодического магнитного поля
Название английское:
Electromagnetic compatibility of technical equipment. Power electrotechnic equipment. Methods of measurement for low frequency periodical magnetic field parameters
Даты и сроки
Дата издания:
07-01-04
Дата введения в действие:
06-30-93
Дата завершения срока действия:
-
Применение и описание
Область и условия применения:
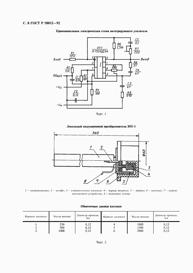
Настоящий стандарт распространяется на вновь разрабатываемое, изготовляемое и импортируемое силовое (мощностью свыше 0,5 кВт) низковольтное ( напряжением до 1000 В) электрооборудование общепромышленного назначения (далее в тексте - техническое средство). Стандарт устанавливает методы измерения параметров низкочастотного периодического магнитного поля технических средств (ТС) в диапазоне частот 5 - 10000 Гц. Стандарт не распространяется на бытовое электрооборудование и ТС специального назначения
Связи и замены
Заменяющий:
-
Описание стандарта
ГОСТ Р 50012-92 Совместимость технических средств электромагнитная. Электрооборудование силовое. Методы измерения параметров низкочастотного периодического магнитного поля
Страницы стандарта














