ГОСТ Р 51317.2.4-2000 Совместимость технических средств электромагнитная. Электромагнитная обстановка. Уровни электромагнитной совместимости для низкочастотных кондуктивных помех в системах электроснабжения промышленных предприятий
ГОСТ Р
Скачать ГОСТ в PDF или DOC бесплатно
Основная информация
Обозначение:
ГОСТ Р 51317.2.4-2000
Статус:
Действует
Тип:
ГОСТ Р
Название русское:
Совместимость технических средств электромагнитная. Электромагнитная обстановка. Уровни электромагнитной совместимости для низкочастотных кондуктивных помех в системах электроснабжения промышленных предприятий
Название английское:
Electromagnetic compatibility of technical equipment. Electromagnetic environment. Compatibility levels for low-frequency conducted disturbances in industrial plants
Даты и сроки
Дата издания:
11-30-20
Дата введения в действие:
01-01-02
Дата завершения срока действия:
-
Применение и описание
Область и условия применения:
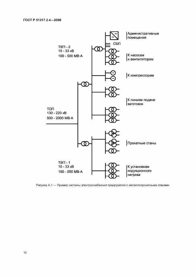
Настоящий стандарт устанавливает уровни электромагнитной совместимости для низкочастотных кондуктивных помех в системах электроснабжения промышленных предприятий, а также в иных системах электроснабжения, не относящихся к системам общего назначения. Стандарт распространяется на системы электроснабжения переменного тока частотой 50 Гц низкого (до 1000 В) и среднего (до 35 кВ) напряжения. Стандарт не применяется для систем электроснабжения кораблей, самолетов и железных дорог
Связи и замены
Заменяющий:
-
Описание стандарта
ГОСТ Р 51317.2.4-2000 Совместимость технических средств электромагнитная. Электромагнитная обстановка. Уровни электромагнитной совместимости для низкочастотных кондуктивных помех в системах электроснабжения промышленных предприятий
Страницы стандарта


















