ГОСТ Р 51318.13-2006 Совместимость технических средств электромагнитная. Радиовещательные и телевизионные приемники и другая бытовая радиоэлектронная аппаратура. Радиопомехи индустриальные. Нормы и методы измерений
ГОСТ Р
Скачать ГОСТ в PDF или DOC бесплатно
Основная информация
Обозначение:
ГОСТ Р 51318.13-2006
Статус:
Отменен
Тип:
ГОСТ Р
Название русское:
Совместимость технических средств электромагнитная. Радиовещательные и телевизионные приемники и другая бытовая радиоэлектронная аппаратура. Радиопомехи индустриальные. Нормы и методы измерений
Название английское:
Electromagnetic compatibility of technical equipment. Sound and television broadcast receivers and associated equipment. Radio disturbance. Limits and methods of measurement
Даты и сроки
Дата издания:
04-18-07
Дата введения в действие:
07-01-07
Дата завершения срока действия:
01-01-14
Применение и описание
Область и условия применения:
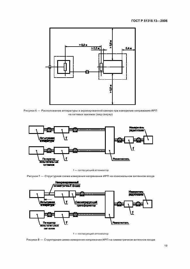
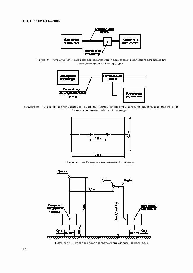
Настоящий стандарт распространяется на радиовещательные и телевизионные приемники и другую бытовую радиоэлектронную аппаратуру, в том числе платы тюнеров для персональных компьютеров, и устанавливает нормы и методы измерений параметров индустриальных радиопомех. Область применения стандарта охватывает полосу частот от 9 кГц до 400 ГГц, но нормы индустриальных радиопомех установлены в полосе частот от 150 кГц до 18 ГГц. Измерения на частотах, применительно к которым нормы не установлены, не проводят. Настоящий стандарт не распространяется на оборудование информационных технологий, даже если оно предназначено для подключения к телевизионному приемнику
Связи и замены
Заменяющий:
-
Изменения и переиздания
Список изменений:
№0 от (рег. ) «Текстовое изменение; Изменено заглавие»
Описание стандарта
ГОСТ Р 51318.13-2006 Совместимость технических средств электромагнитная. Радиовещательные и телевизионные приемники и другая бытовая радиоэлектронная аппаратура. Радиопомехи индустриальные. Нормы и методы измерений
Страницы стандарта


































