ГОСТ Р 51318.16.1.1-2007 Совместимость технических средств электромагнитная. Требования к аппаратуре для измерения параметров индустриальных радиопомех и помехоустойчивости и методы измерений. Часть 1-1. Аппаратура для измерения параметров индустриальных радиопомех и помехоустойчивости. Приборы для измерения индустриальных радиопомех
ГОСТ Р
Скачать ГОСТ в PDF или DOC бесплатно
Основная информация
Обозначение:
ГОСТ Р 51318.16.1.1-2007
Статус:
Отменен
Тип:
ГОСТ Р
Название русское:
Совместимость технических средств электромагнитная. Требования к аппаратуре для измерения параметров индустриальных радиопомех и помехоустойчивости и методы измерений. Часть 1-1. Аппаратура для измерения параметров индустриальных радиопомех и помехоустойчивости. Приборы для измерения индустриальных радиопомех
Название английское:
Electromagnetic compatibility of technical equipment. Specification for radio disturbance and immunity measuring apparatus and methods. Part 1-1. Radio disturbance and immunity measuring apparatus. Measuring apparatus
Даты и сроки
Дата издания:
10-03-08
Дата введения в действие:
07-01-08
Дата завершения срока действия:
01-01-14
Применение и описание
Область и условия применения:
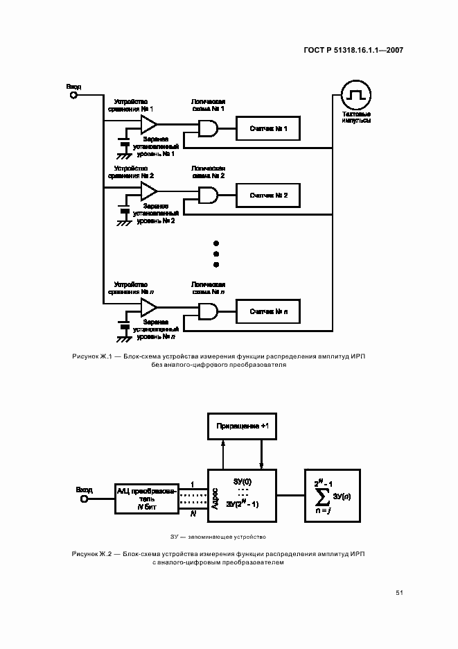
Настоящий стандарт является основополагающим стандартом, устанавливающим характеристики и качество функционирования аппаратуры для измерения напряжения, тока и напряженности поля индустриальных радиопомех (ИРП) в полосе частот от 9 кГц до 18 ГГц. В настоящем стандарте установлены также требования к специализированным приборам для измерений прерывистых ИРП. Настоящий стандарт распространяется на следующие виды измерителей ИРП: а) измерительный приемник с квазипиковым детектором; б) измерительный приемник с детектором пиковых значений; в) измерительный приемник с детектором средних значений; г) измерительный приемник с детектором среднеквадратических значений
Связи и замены
Заменяющий:
-
Изменения и переиздания
Список изменений:
№0 от (рег. ) «Текстовое изменение; Изменено заглавие»
Описание стандарта
ГОСТ Р 51318.16.1.1-2007 Совместимость технических средств электромагнитная. Требования к аппаратуре для измерения параметров индустриальных радиопомех и помехоустойчивости и методы измерений. Часть 1-1. Аппаратура для измерения параметров индустриальных радиопомех и помехоустойчивости. Приборы для измерения индустриальных радиопомех
Страницы стандарта

























































