ГОСТ Р 51318.22-2006 Совместимость технических средств электромагнитная. Оборудование информационных технологий. Радиопомехи индустриальные. Нормы и методы измерений
ГОСТ Р
Скачать ГОСТ в PDF или DOC бесплатно
Основная информация
Обозначение:
ГОСТ Р 51318.22-2006
Статус:
Отменен
Тип:
ГОСТ Р
Название русское:
Совместимость технических средств электромагнитная. Оборудование информационных технологий. Радиопомехи индустриальные. Нормы и методы измерений
Название английское:
Electromagnetic compatibility of technical equipment. Information technology equipment. Man-made radio disturbance. Limits and methods of measurement
Даты и сроки
Дата издания:
05-10-07
Дата введения в действие:
07-01-07
Дата завершения срока действия:
01-01-14
Применение и описание
Область и условия применения:
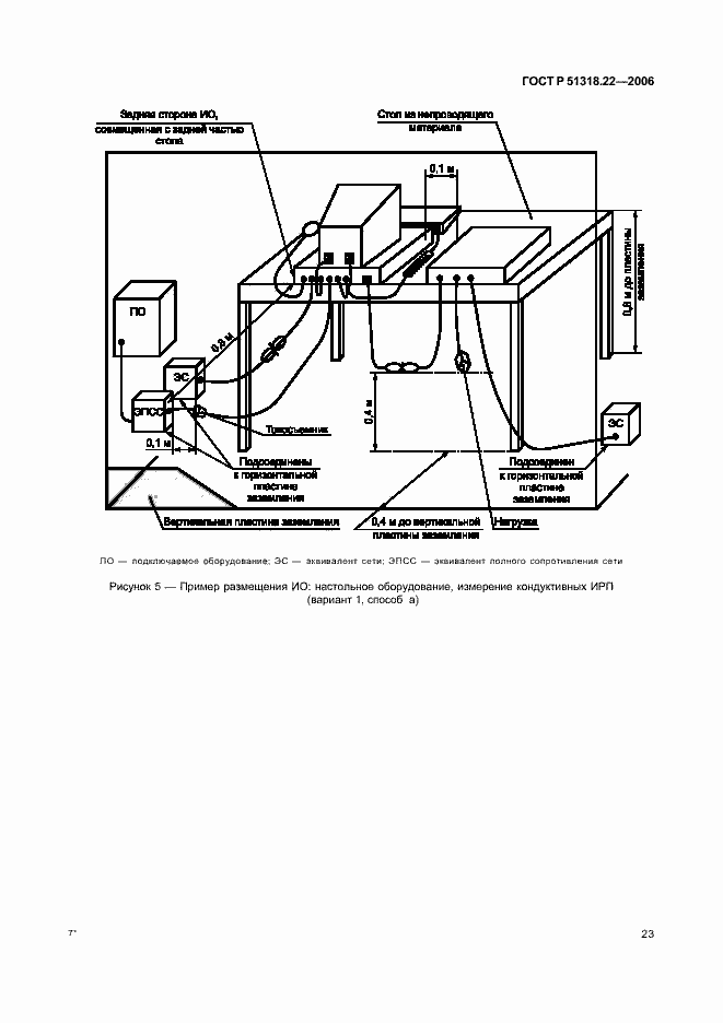
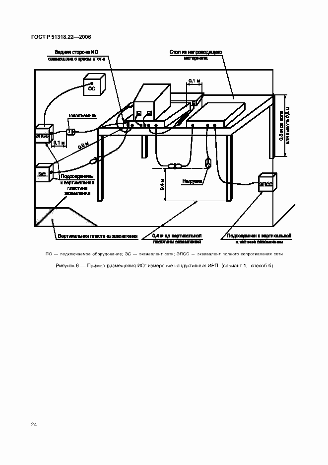
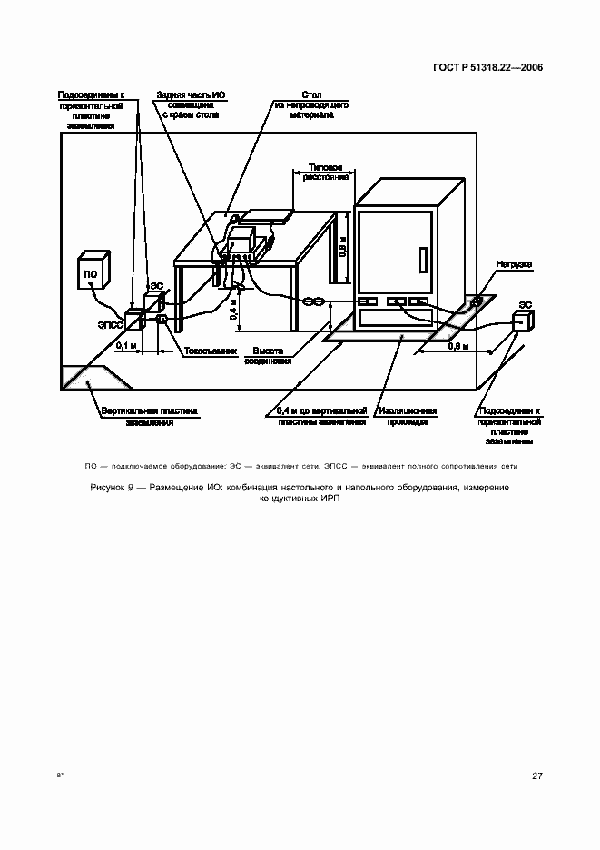
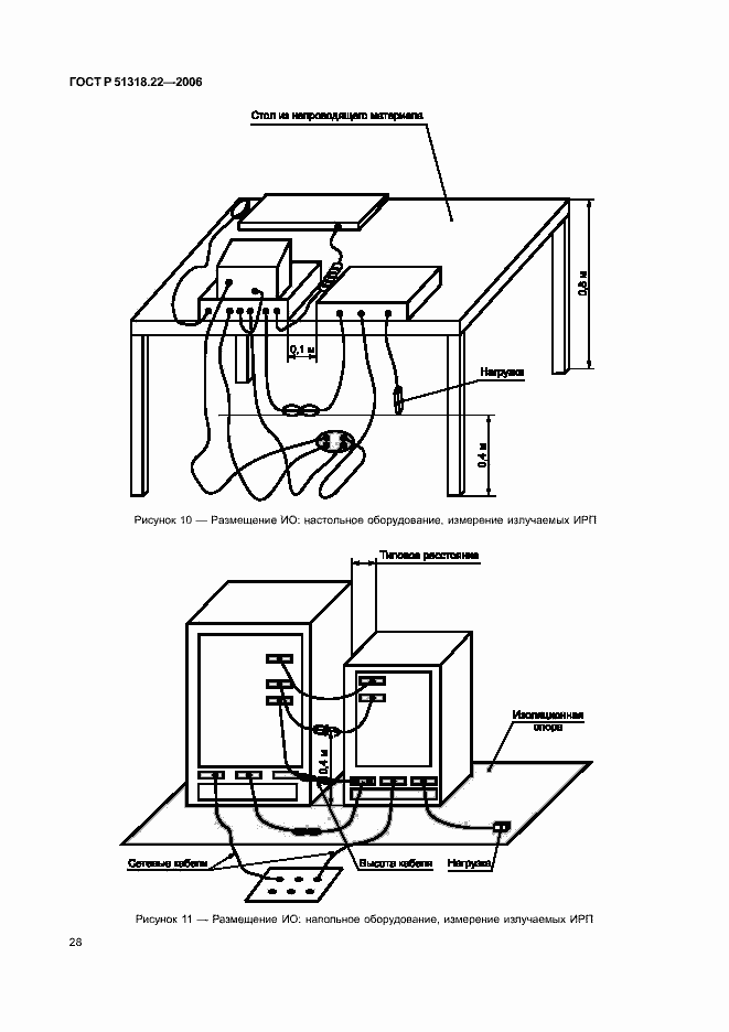
Настоящий стандарт распространяется на оборудование информационных технологий (ОИТ). Стандарт устанавливает нормы и методы измерений индустриальных радиопомех (ИРП) от ОИТ классов А и Б в полосе частот от 0,15 МГц до 6 ГГц. Измерения на частотах, применительно к которым нормы не установлены, не проводят. Настоящий стандарт не распространяется на оборудование, для которого нормы ИРП в полосе часто от 0,15 МГц до 6 ГГц установлены в других национальных стандартах, разработанных на основе применения международных стандартов МЭК или СИСПР
Связи и замены
Заменяющий:
-
Изменения и переиздания
Список изменений:
№0 от (рег. ) «Текстовое изменение; Изменено заглавие»
Описание стандарта
ГОСТ Р 51318.22-2006 Совместимость технических средств электромагнитная. Оборудование информационных технологий. Радиопомехи индустриальные. Нормы и методы измерений
Страницы стандарта
































































