ГОСТ Р 51319-99 Совместимость технических средств электромагнитная. Приборы для измерения индустриальных радиопомех. Технические требования и методы испытаний
ГОСТ Р
Скачать ГОСТ в PDF или DOC бесплатно
Основная информация
Обозначение:
ГОСТ Р 51319-99
Статус:
Действует
Тип:
ГОСТ Р
Название русское:
Совместимость технических средств электромагнитная. Приборы для измерения индустриальных радиопомех. Технические требования и методы испытаний
Название английское:
Electromagnetic compatibility of technical equipment. Radio disturbance measuring apparatus. Technical requirements and test methods
Даты и сроки
Дата издания:
05-11-00
Дата введения в действие:
01-01-01
Дата завершения срока действия:
-
Применение и описание
Область и условия применения:
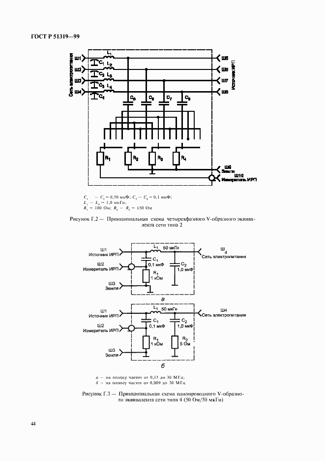
Настоящий стандарт распространяется на приборы, предназначенные для измерения индустриальных радиопомех, и устанавливает технические требования и методы испытаний приборов в полосе частот от 9 кГц до 1000 МГц
Связи и замены
Заменяющий:
-
Описание стандарта
ГОСТ Р 51319-99 Совместимость технических средств электромагнитная. Приборы для измерения индустриальных радиопомех. Технические требования и методы испытаний
Страницы стандарта
























































