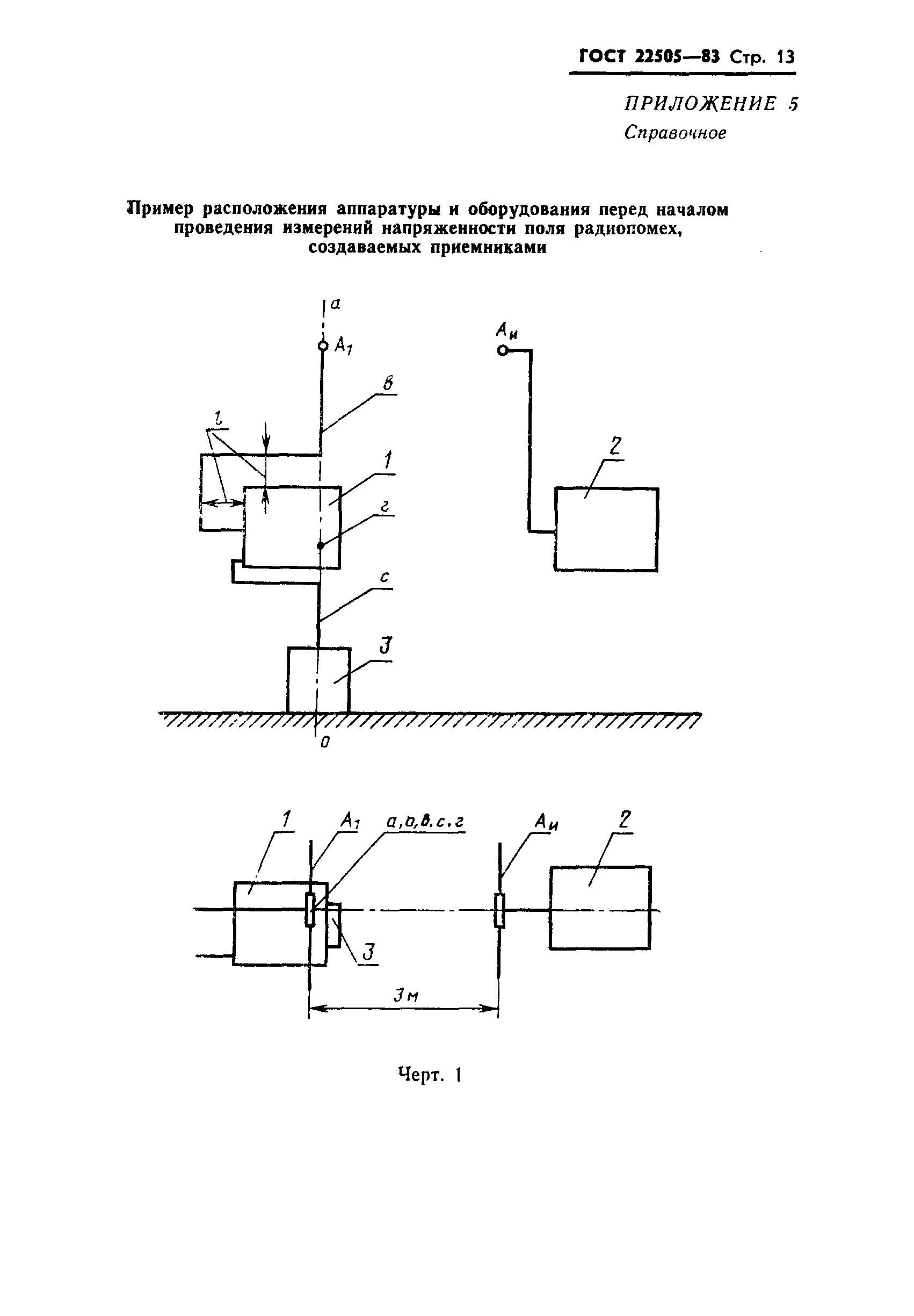
ГОСТ 22505-83 Радиопомехи индустриальные от приемников телевизионных и приемников радиовещательных частотно-модулированных сигналов в диапазоне УКВ. Нормы и методы измерений
ГОСТ
Скачать ГОСТ в PDF или DOC бесплатно
Основная информация
Обозначение:
ГОСТ 22505-83
Статус:
Заменен
Тип:
ГОСТ
Название русское:
Радиопомехи индустриальные от приемников телевизионных и приемников радиовещательных частотно-модулированных сигналов в диапазоне УКВ. Нормы и методы измерений
Название английское:
Man-made noise from television receivers and frequency modulation USW broadcast receivers. Limits and measuring methods
Даты и сроки
Дата издания:
06-01-86
Дата введения в действие:
06-30-84
Дата завершения срока действия:
01-01-99
Связи и замены
Заменяющий:
ГОСТ 22505-97
Взамен:
ГОСТ 22505-77
Изменения и переиздания
Список изменений:
№0 от (рег. ) «Срок действия продлен» №1 от (рег. ) «Срок действия продлен» №2 от (рег. ) «Срок действия продлен»
Описание стандарта
ГОСТ 22505-83 Радиопомехи индустриальные от приемников телевизионных и приемников радиовещательных частотно-модулированных сигналов в диапазоне УКВ. Нормы и методы измерений
Страницы стандарта
























