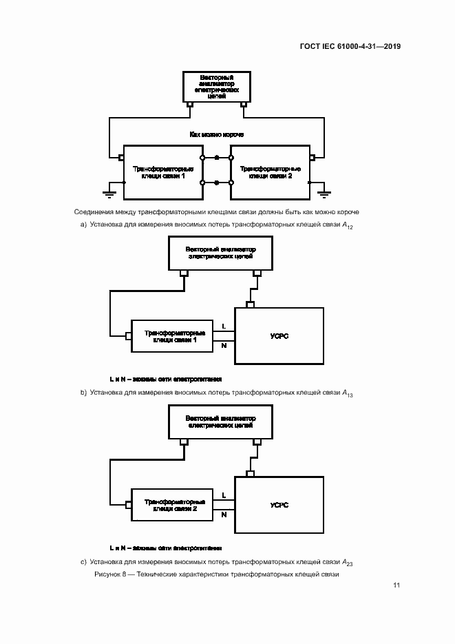
ГОСТ IEC 61000-4-31-2019 Электромагнитная совместимость (ЭМС). Часть 4-31. Методы испытаний и измерений. Испытание на устойчивость к широкополосным кондуктивным помехам, воздействующим на порты электропитания переменного тока
ГОСТ МЭК
Скачать ГОСТ в PDF или DOC бесплатно
Основная информация
Обозначение:
ГОСТ IEC 61000-4-31-2019
Статус:
Действует
Тип:
ГОСТ МЭК
Название русское:
Электромагнитная совместимость (ЭМС). Часть 4-31. Методы испытаний и измерений. Испытание на устойчивость к широкополосным кондуктивным помехам, воздействующим на порты электропитания переменного тока
Название английское:
Electromagnetic compatibility (EMC). Part 4-31. Testing and measurement techniques. AC mains ports broadband conducted disturbance immunity test
Даты и сроки
Дата регистрации:
10-30-19
Дата издания:
11-29-19
Дата введения в действие:
06-01-20
Дата завершения срока действия:
-
Применение и описание
Область и условия применения:
Настоящий стандарт распространяется на электрическое и электронное оборудование в отношении помехоустойчивости при воздействии кондуктивных электромагнитных помех, поступающих от преднамеренных и/или непреднамеренных источников широкополосных сигналов в полосе частот от 150 кГц до 80 МГц. Цель настоящего стандарта - установление общих методов оценки помехоустойчивости электрического и электронного оборудования при воздействии на его порты помех, создаваемых преднамеренными и/или непреднамеренными источниками широкополосных сигналов. Метод испытаний, установленный в настоящем стандарте, рассматривается как последовательный метод оценки помехоустойчивости оборудования или системы к воздействию определенного явления
Связи и замены
Заменяющий:
-
Описание стандарта
ГОСТ IEC 61000-4-31-2019 Электромагнитная совместимость (ЭМС). Часть 4-31. Методы испытаний и измерений. Испытание на устойчивость к широкополосным кондуктивным помехам, воздействующим на порты электропитания переменного тока
Страницы стандарта








































Приложение №1: Поправка к ГОСТ IEC 61000-4-31-2019 Обозначение: Поправка к ГОСТ IEC 61000-4-31-2019 Дата введения в действие: 19.08.2020
