ГОСТ 23585-79 Монтаж электрический радиоэлектронной аппаратуры и приборов. Технические требования к разделке и соединению экранов проводов
ГОСТ
Скачать ГОСТ в PDF или DOC бесплатно
Основная информация
Обозначение:
ГОСТ 23585-79
Статус:
Действует
Тип:
ГОСТ
Название русское:
Монтаж электрический радиоэлектронной аппаратуры и приборов. Технические требования к разделке и соединению экранов проводов
Название английское:
Mounting of electric and radioelectronic equipment and instruments. Technical requirements for wire screens termination and connection
Даты и сроки
Дата издания:
02-01-98
Дата введения в действие:
06-30-80
Дата завершения срока действия:
-
Применение и описание
Область и условия применения:
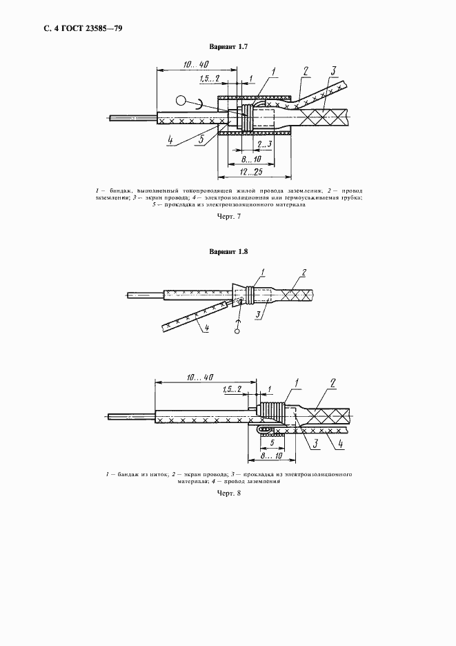
Настоящий стандарт устанавливает технические требования к конструкциям разделки и соединения пайкой экранов проводов, применяемых при электрическом монтаже, выполняемом внутри радиоэлектронной аппаратуры, приборов и устройств и отвечающим общим техническим требованиям нормативной документации. Стандарт не распространяется на конструкции разделки и соединения экранов радиочастотных кабелей и ленточных проводов и технические требования к технологическому процессу выполнения разделки и соединения экранов проводов
Связи и замены
Заменяющий:
-
Изменения и переиздания
Список изменений:
№0 от (рег. ) «Дата введения перенесена» №1 от (рег. ) «Срок действия продлен»
Описание стандарта
ГОСТ 23585-79 Монтаж электрический радиоэлектронной аппаратуры и приборов. Технические требования к разделке и соединению экранов проводов
Страницы стандарта














