ГОСТы >
33.120 Компоненты и вспомогательные приспособления телекоммуникационного оборудования >
ГОСТ Р МЭК 62680-4-2015
ГОСТ Р МЭК 62680-4-2015 Интерфейсы универсальной последовательной шины для передачи данных и подачи электропитания. Часть 4. Документ по классу кабелей и разъемов универсальной последовательной шины
ГОСТ Р МЭК
Скачать ГОСТ в PDF или DOC бесплатно
Основная информация
Обозначение:
ГОСТ Р МЭК 62680-4-2015
Статус:
Действует
Тип:
ГОСТ Р МЭК
Название русское:
Интерфейсы универсальной последовательной шины для передачи данных и подачи электропитания. Часть 4. Документ по классу кабелей и разъемов универсальной последовательной шины
Название английское:
Universal serial bus interfaces for data and power. Part 4. Universal serial bus cables and connectors class document
Даты и сроки
Дата издания:
09-10-20
Дата введения в действие:
06-01-16
Дата завершения срока действия:
-
Применение и описание
Область и условия применения:
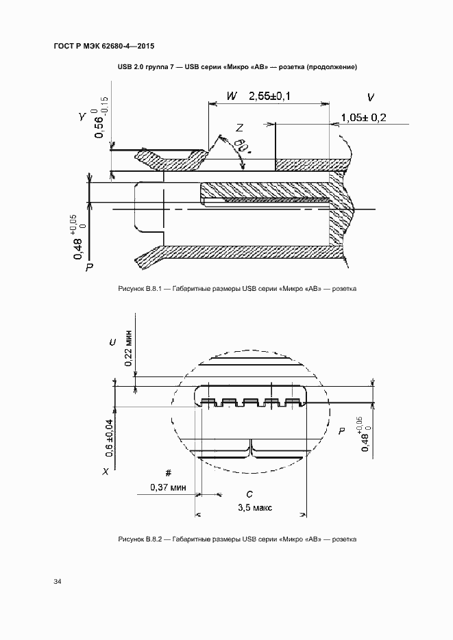
Настоящий стандарт устанавливает требования к проектированию, разработке и добровольному испытанию USB-разъемов и серийно выпускаемых кабельных сборок на соответствие требованиям, а также по определению механических, электрических, климатических характеристик и характеристик качества функционирования. Настоящий стандарт устанавливает конструктивное исполнение USB-разъемов, кабелей и кабельных сборок, а также и порядок оценки соответствия, которую должны проводить производители и/или изготовители при добровольном подтверждении соответствия установленным требованиям
Связи и замены
Заменяющий:
-
Описание стандарта
ГОСТ Р МЭК 62680-4-2015 Интерфейсы универсальной последовательной шины для передачи данных и подачи электропитания. Часть 4. Документ по классу кабелей и разъемов универсальной последовательной шины
Страницы стандарта












































