ГОСТ 13317-89 Элементы соединения СВЧ трактов радиоизмерительных приборов. Присоединительные размеры
ГОСТ
Скачать ГОСТ в PDF или DOC бесплатно
Основная информация
Обозначение:
ГОСТ 13317-89
Статус:
Действует
Тип:
ГОСТ
Название русское:
Элементы соединения СВЧ трактов радиоизмерительных приборов. Присоединительные размеры
Название английское:
Connectors of microwave channels of radiomeasuring apparatus. Connecting dimensions
Даты и сроки
Дата издания:
11-30-89
Дата введения в действие:
01-01-91
Дата завершения срока действия:
-
Применение и описание
Область и условия применения:
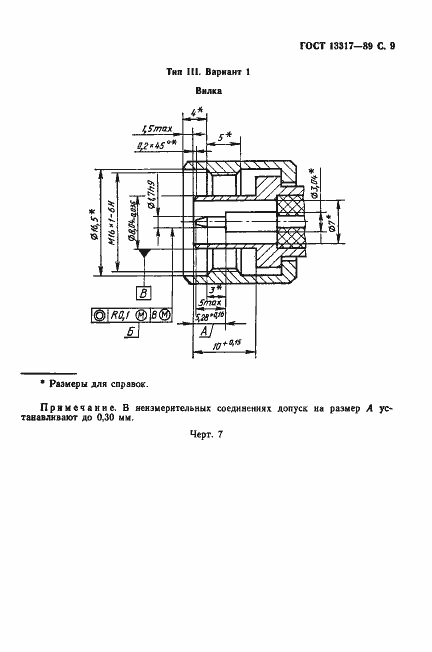
Настоящий стандарт устанавливает размеры элементов соединений коаксиальных волноводов с воздушным заполнением сечением 2,4/1,04; 3,5/1,52; 7/3,04; 16/6,95и 16/4,6;элементов соединений фланцев прямоугольных волноводов сечением 0,7х0,35; 1,1х0,55; 1,6х0,8; 2,4х1,2; 3,6х1,8; 5,2х2,6; 7,2х3,4; 11х 5,5; 13х6,5; 16х8; 17х8; 19х9,5; 23х10; 28,5х12,6; 35х15; 40х20; 48х24; 58х25 72х34; 90х45 и 110х55 мм и фланцев металло-диэлектрического волновода сечением 10х10 мм радиоизмерительных приборов общего применения, верхние рабочие частоты которых находятся в пределах 0,3-405,41 ГГц предназначенных для нужд народного хозяйства и экспорта.Стандарт не устанавливает конструкции элементов соединения и не распространяется на внутриблочные и межблочные соединения
Связи и замены
Заменяющий:
-
Взамен:
ГОСТ 13317-80
Описание стандарта
ГОСТ 13317-89 Элементы соединения СВЧ трактов радиоизмерительных приборов. Присоединительные размеры
Страницы стандарта












































